Curiosii for ever!: Car repair manuals for everyone.

Compression Check: Testing and Inspection

Engine Compression Test
Perform a compression test in order to determine the cylinder compression pressure. Use a compression test in order to diagnose lack of power, excessive oil consumption, or poor fuel economy.

- Tools Required
- J 39313 Spark Plug Port Adapter
- J 38722 Compression Tester

Notice: This engine is equipped with an aluminum cylinder head. Allow the engine to cool before removing spark plugs. Removing the spark plugs from an engine at operating temperature may damage the spark plug threads in the cylinder head. Also be sure to clean any dirt or debris from around spark plug holes prior to removing spark plugs.

Important: engine should be at room temperature.

1. Verify that the battery is fully charged or close to fully charged.
2. Turn the ignition switch to LOCK.
3. Remove the 2 ignition coils and the secondary spark plug wires from the valve rocker cover.
4. Remove the four spark plugs.





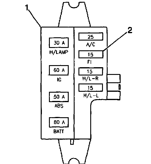
5. Locate and remove the cover to the under hood fuse block (1).





6. Remove the F1 (15 amp) fuse (2) from the fuse block.





7. Install a J 39313 and a J 38722 into a spark plug hole.
8. Depress the clutch pedal.
9. Depress the accelerator pedal to the floor for a wide open throttle.
10. Crank the engine through four compression strokes for each cylinder being tested.
11. Measure and record the highest pressure reading on the compression gauge.
Standard Compression Pressure 1,400 kPa (199 psi)
Minimum Compression Pressure 1,200 kPa (170 psi) Compression Variance The maximum allowable compression pressure difference between any 2 cylinders is 100 kPa (15 psi).
12. Repeat the compression test procedures for the remaining three cylinders.
13. If some cylinders have low compression, inject approximately 15 ml (one tablespoon) of engine oil into the combustion chamber through the spark plug hole.
- Normal-Compression builds up quickly and evenly to the specified compression for each cylinder.
- Piston Rings Leaking-Compression is low on the first stroke. Then compression builds up with the following strokes but does not reach normal. Compression improves considerably when oil is added.
- Valves Leaking-Compression is low on the first stroke. Compression usually does not build up on the following strokes. Compression does not improve much when oil is added.
- If two adjacent cylinders have lower than normal compression, and injecting oil into the cylinders does not increase the compression, the cause may be a head gasket leaking between the two cylinders.
14. Remove the J 39313 and the J 38722 from the engine.
15. Install the four spark plugs.
16. Install the ignition coils and the secondary spark plug wires.
17. Install the F1 (15 amp) fuse to the fuse block.