Curiosii for ever!: Car repair manuals for everyone.

Air Bag Control Module: Service and Repair

CAUTION: Be careful when you handle a Sensing and Diagnostic Module (SDM). Do not strike or bit the SDM. Before applying power to the SDM:
^ Remove any dirt, grease, etc. from the mounting surface
^ Position the SDM horizontally on the mounting surface
^ Point the arrow on the SDM toward the front of the vehicle
^ Tighten all of the SDM fasteners and SDM bracket fasteners to the specified torque value

Failure to follow the correct procedure could cause air bag deployment, personal injury, or unnecessary SIR system repairs.

CAUTION: If any water enters the vehicle's interior up to the level of the carpet or higher and soaks the carpet, the sensing and diagnostic module (SDM) and the SDM harness connector may need to be replaced. The SDM could be activated when powered, which could cause deployment of the air bag(s) and result in personal injury. Before attempting these procedures, the SIR system must be disabled.
With the ignition OFF, inspect the SDM mounting area, including the carpet. If any significant soaking or evidence of significant soaking is detected, you must perform the following tasks:
1. Remove all water.
2. Repair the water damage.
3. Replace the SDM harness connector.
4. Replace the SDM.

Failure to follow these tasks could result in possible air bag deployment, personal injury, or otherwise unneeded SIR system repairs.


REMOVAL PROCEDURE




1. Perform the Air Bag(s) Arming and Disarming Procedure.
2. Remove the passenger front seat.
3. Remove the passenger front carpet retainer, then roll back the carpet.
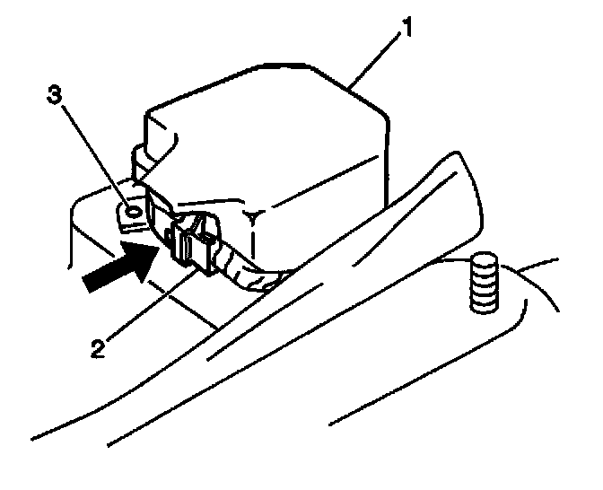
4. Push the locking tab and release the Connector Position Assurance (CPA) from the inflatable restraint sensing and diagnostic module (SDM) wiring harness connector (2).




5. Disconnect the SDM wiring harness connector (3) from the SDM (1).




6. Remove the SDM mounting fasteners (1)
7. Remove the SDM (2) from the vehicle.

IMPORTANT: The following repair procedures should only be used in the event that the inflatable restraint sensing and diagnostic module (SDM) mounting studs and/or fasteners are damaged to the extent that the SDM can no longer be properly mounted.

FIRST REPAIR
1. Remove and discard the fastener.
2. Use a new fastener GM P/N 10156138. Refer to Fastener Notice in Service Precautions.
3. Install the SDM mounting fasteners (1).

Tighten
Tighten fasteners to 10 N.m (89 lb in).

SECOND REPAIR
1. Remove and discard the fastener.
2. Use a larger fastener GM P/N 10267482 with washer GM P/N 11500305
3. Install the SDM mounting fasteners (1).

Tighten
Tighten fasteners to 15 N.m (134 lb in).

INSTALLATION PROCEDURE




1. Install the SDM (2) to the vehicle.
2. Install the SDM mounting fasteners (1).

Tighten
Tighten fasteners to 10 N.m (89 lb in).




3. Install the SDM wiring harness connector (3) to the SDM (1).




4. Install the connector position assurance (CPA) to the SDM wiring harness connector (2).
5. Position the carpet to cover the SDM then install the carpet retainer.
6. Install the passenger front seat.
7. Enable the SIR system. Refer to the Air Bag(s) Arming and Disarming Procedure.