Curiosii for ever!
: Car repair manuals for everyone.
Home
>>
Chevy Truck
>>
2000
>>
Venture V6-3.4L VIN E
>>
Repair and Diagnosis
>>
Diagrams
>>
Electrical Diagrams
>>
Antitheft and Alarm Systems
>>
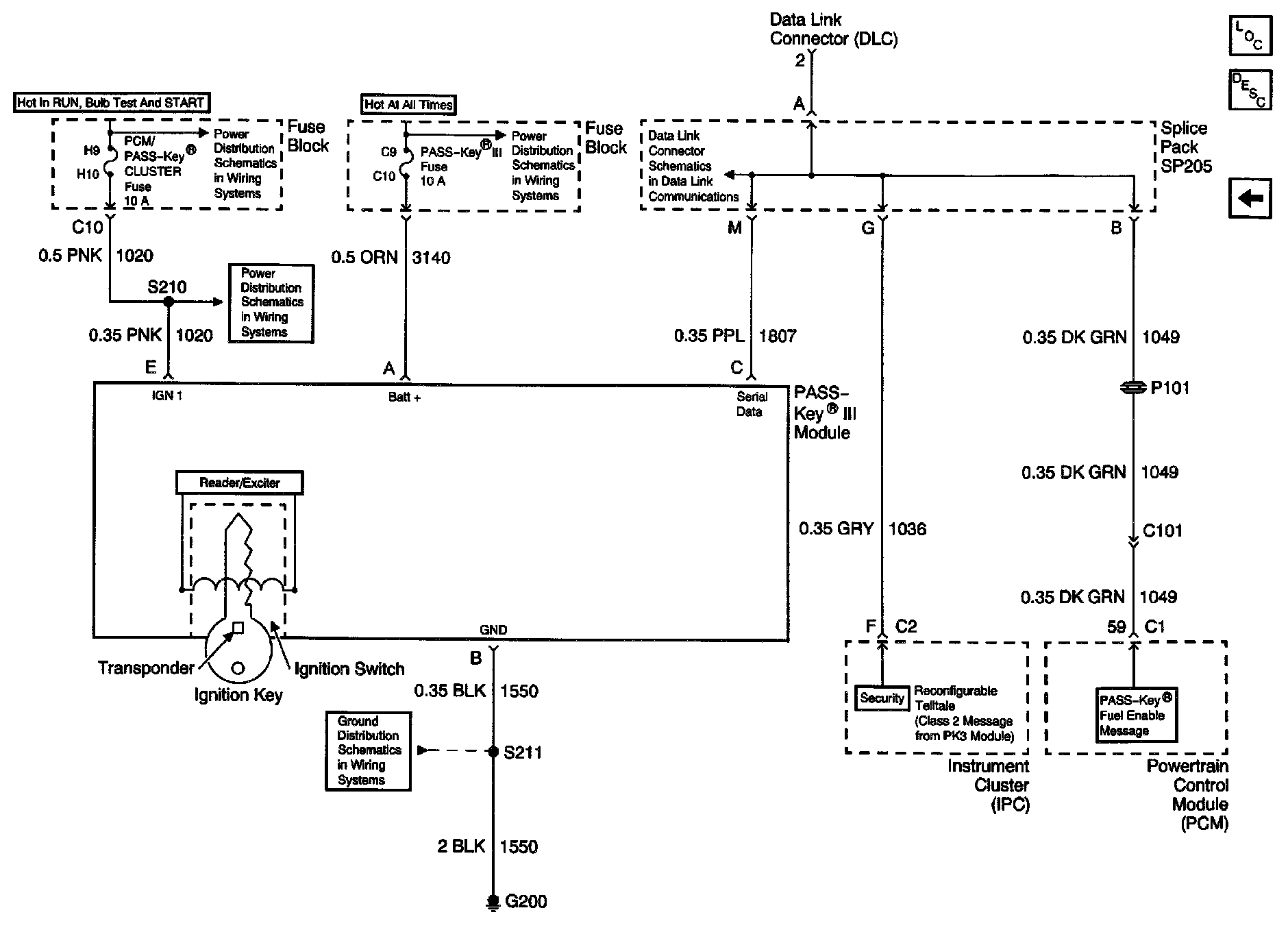
Pass Key III Module
Pass Key III Module
Theft Deterrent System Schematics (Pass Key III Module):