Curiosii for ever!: Car repair manuals for everyone.

4. Main Shaft Replacement

Removal Procedure

^ Tools Required
^ J 34757Circlip Remover
^ J 22912-01 Split Plate
^ J 26900-7 Dial Caliper

Important: The main shaft first gear bushing and the reverse gear bushing are identical. Make note of these components and their positions during disassembly in order to ensure correct assembly and operation.

1. Use the J 34757 in order to remove the high speed and reverse hub C-clip from the main shaft.





2. Use the J 22912-01 and a press arbor in order to remove the following components from the main shaft:
2.1. The high speed synchronizer rings (2)
2.2. The high speed hub and sleeve assembly (1)
2.3. The main shaft third gear (3)
2.4. The main shaft third gear needle bearing
3. Remove the high speed synchronizer sleeve from the high speed synchronizer hub.
4. Remove the following components from the high speed synchronizer hub:
4.1. The high speed synchronizer springs
4.2. The three synchronizer keys
5. Use the J 34757 in order to remove the main shaft rear bearing C-clip from the main shaft.





6. Use the J 22912-01 and a press arbor in order to remove the main shaft rear bearing (2) from the main shaft (1).

Important: The main shaft fifth gear needle bearing separates into two halves. Make note of the position and the location of the main shaft fifth gear needle bearing in order to ensure correct assembly and operation.

7. Remove the following components from the main shaft:
7.1. The main shaft fifth gear washer
7.2. The main shaft washer ball
7.3. The main shaft fifth gear
7.4. The high speed synchronizer ring
7.5. The main shaft fifth gear needle bearing
8. Use the J 34757 in order to remove the high speed and reverse hub C-clip from the main shaft.
9. Remove the reverse synchronizer sleeve from the reverse synchronizer hub.
10. Remove the following components from the reverse synchronizer hub:
10.1. The reverse synchronizer springs
10.2. The three synchronizer keys





11. Use the J 22912-01 and a press arbor in order to remove the reverse synchronizer hub (1) from the main shaft (2).
12. Remove the main shaft reverse gear and the needle bearing from the main shaft.





Notice: DO NOT remove the main shaft bearing washer, the main shaft reverse gear bushing and the main shaft center bearing in one step. The main shaft washer ball which locks the main shaft bearing washer in place could damage the main shaft or the main shaft center bearing. Remove the main shaft reverse gear bushing first, then, remove the main shaft bearing washer and the main shaft washer ball before removing the bushing main shaft center bearing from the main shaft.

13. Use the J 22912-01 in order to remove the following components from the main shaft (1):
13.1. The main shaft reverse gear bushing (2)
13.2. The main shaft bearing washer (3)
13.3. The main shaft washer ball
14. Use the J 22912-01 and a press arbor in order to remove the main shaft center bearing from the main shaft.

Notice: DO NOT remove the main shaft bearing washer, the main shaft 1st gear, the main shaft 1st gear needle bearing and the low speed synchronizer ring in one step. The main shaft washer ball which locks the main shaft bearing washer in place could damage the main shaft or the main shaft 1st gear. Remove the main shaft bearing washer and the main shaft washer first, then, remove the main shaft 1st gear, the main shaft 1st gear needle bearing and the low speed synchronizer ring.

15. Remove the following components from the main shaft:
15.1. The main shaft bearing washer
15.2. The main shaft washer ball
15.3. The main shaft first gear
15.4. The main shaft first gear needle bearing
15.5. The low speed synchronizer ring
15.6. The main shaft race





16. Use the J 22912-01 and a press arbor in order to remove the following components from the main shaft:
16.1. The main shaft first gear bushing (1)
16.2. The low speed sleeve and hub assembly (2)
16.3. The low speed synchronizer ring
16.4. The main shaft second gear (3)
17. Remove the main shaft second gear needle bearing from the main shaft.
18. Remove the low speed synchronizer sleeve from the low speed synchronizer hub.
19. Remove the following components from the low speed synchronizer hub:
19.1. The low speed synchronizer springs
19.2. The synchronizer keys
20. Clean all main shaft components thoroughly with solvent. Air dry the components.





21. Inspect all of the needle bearings (3-8) for unusual wear or damage. Replace the needle bearings as necessary.
22. Inspect all of the ball bearings for roughness or wear. Replace the ball bearings as necessary.
23. Inspect the chamfered portion of each synchronizer ring for excessive wear. Replace as necessary.
24. Inspect all of the synchronizer springs and keys for distortion or damage. Replace as necessary.
25. Inspect the main shaft (1) for the following conditions and replace as necessary:
25.1. Grooves
25.2. Scoring
25.3. Unusual wear





26. Use a feeler gage in order to measure the clearance between each synchronizer ring (1) and its respective gear (2).
The maximum clearance allowed is 1.0 to 1.4 mm (0.039 to 0.055 inch).
If the synchronizer ring clearance exceeds the specification, replace the synchronizer ring and gear.





27. Use the J 26900-7 in order to measure the key slot width of each synchronizer ring (1).
The maximum synchronizer key slot width allowed is 10.1 to 10.4 mm (0.397 to 0.409 inch).
If the synchronizer key slot width exceeds the specification, replace the synchronizer ring.





28. Use a feeler gage (3) in order to measure the clearance between each gearshift fork (2) and its respective synchronizer sleeve (1).
The maximum gearshift fork clearance allowed is 1.0 mm (0.039 inch).
If the gearshift fork clearance exceeds the specification, replace the gearshift fork and the synchronizer sleeve.

Installation Procedure

^ Tools Required
^ J 37753 Bearing Installer
^ J 35664 Bearing Installer
^ J 28406 Bearing Installer
^ J 22912-01 Split Plate
^ J 35425 High Speed Hub Installer
^ J 36850 Transjel(R) Transmission Assembly Lubricant





1. Install the following components onto the low speed synchronizer hub (7):
1.1. The low speed synchronizer springs (1)
1.2. The synchronizer keys (2)
2. Install the low speed synchronizer sleeve (8) onto the low speed synchronizer hub (7).
3. Apply J 36850 to the main shaft second gear needle bearing.





4. Install the following components onto the main shaft (3):
4.1. The main shaft second gear needle bearing (4)
4.2. The main shaft second gear (1)





5. Install the low speed synchronizer ring (2) to the main shaft.
6. If necessary use the J 37753 and a press arbor in order to install the low speed sleeve and hub assembly (3) onto the main shaft (4).





7. Use the J 37753 and a press arbor (1) in order to install the main shaft first gear bushing (2) onto the main shaft.
8. Apply J 36850 to the main shaft first gear needle bearing.
9. Install the following components onto the main shaft:
9.1. The main shaft first gear needle bearing
9.2. The low speed synchronizer ring
9.3. The main shaft first gear

Important: Verify that the flat side of the washer lies against the 1st gear.





10. Install the following components onto the main shaft:
^ The main shaft washer ball (1)
^ The main shaft bearing washer (3)





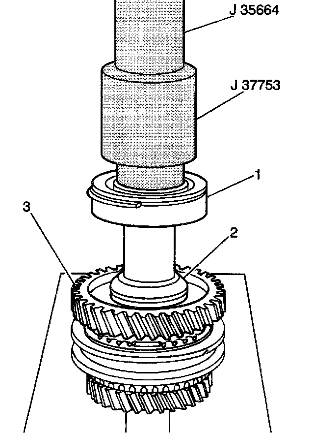
11. Use J 37753, J 35664, and a press arbor in order to install the main shaft center bearing (1) onto the main shaft.





12. Install the following components onto the reverse synchronizer hub (5):
12.1. The reverse synchronizer springs (3)
12.2. The three synchronizer keys (4)
Ensure that the thick side of the synchronizer keys (4) and the synchronizer sleeve (2) face toward the main shaft 5th gear.
13. Connect the reverse synchronizer sleeve (2) to the reverse synchronizer hub (5).
14. Connect the following components to the main shaft:
14.1. The main shaft washer ball
14.2. The main shaft bearing washer





15. Use the J 37753 and the J 35664 in order to install the main shaft reverse gear bushing (1) into the main shaft. Gently tap the bushing into place.
16. Apply J 36850 to the main shaft reverse gear needle bearing.
17. Install the following components onto the main shaft:
^ The main shaft reverse gear needle bearing
^ The main shaft reverse gear





18. Install the reverse sleeve and hub assembly (3) onto the main shaft.
Gently tap the assembly into place.
19. Install the high speed and reverse hub C-clip onto the main shaft.
20. Apply J 36850 to both halves of the main shaft fifth gear needle bearing.
21. Install the following components onto the main shaft:
21.1. The high speed synchronizer ring (2)
21.2. The main shaft fifth gear needle bearing
21.3. The main shaft fifth gear
21.4. The main shaft washer ball
21.5. The main shaft fifth gear washer
Ensure that the oil slot in the main shaft fifth gear washer faces the main shaft fifth gear.





22. Support the main shaft rear bearing (3) with the J 22912-01. Use the J 28406 and a press arbor in order to install the main shaft rear bearing (3) onto the main shaft.
23. Install the main shaft rear bearing C-clip onto the main shaft.





24. Install the following components onto the high speed synchronizer hub:
24.1. The high speed synchronizer springs (1,4)
24.2. The three synchronizer keys (5)
25. Install the high speed synchronizer sleeve (2) onto the high speed synchronizer hub (6).
26. Apply J 36850 to the main shaft 3rd gear needle bearing.





27. Support the main shaft with the J 22912-01. Use the J 35425 and a press arbor in order to install the following components to the main shaft:
27.1. The main shaft third gear needle bearing
27.2. The main shaft third gear (2)
27.3. The high speed synchronizer rings (1)
27.4. The high speed sleeve and hub assembly (3)
28. Install the high speed and reverse hub C-clip onto the main shaft.