Curiosii for ever!: Car repair manuals for everyone.

Disassembly Procedure

TOOLS REQUIRED
J 22912-O1 Bearing Puller




1. Remove the generator from the vehicle.
2. Scribe matchmarks (3) on the front and rear housings to ensure proper assembly.




3. Remove the four generator housing bolts (1,3) from the front housing.




4. Using a flat-bladed tool, gently pry off the front housing (7) (with the drive pulley and the rotor) from the stator coil (1) and the rear housing (2).

NOTE: To prevent damage to the rotor, place clean shop cloths between the rotor and the vise.

5. Place the front housing (4) and the rotor into a vise, facing the drive pulley up.
6. Remove the drive pulley retaining nut.
7. Remove the drive pulley washer and the drive pulley from the rotor.
8. Remove the front housing and the rotor from the vise.
9. Remove the rotor and the spacer from the front housing.




10. Remove four screws (1,3), the front bearing retainer and the front bearing from the front housing.




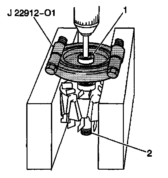
11. Remove the rear bearing (1) from the rotor using a J 22912-O1 and a press.




12. Remove the battery terminal retaining (2) nut from the rear housing.




13. Unsolder the stator leads (1).




14. Remove four retaining screws (2) and the stator (3) from the rear housing.
15. Remove the rectifier from the rear housing.
16. Remove the regulator and the brush holder from the rear housing.
17. Remove the brush holder from the regulator.




18. Remove the brush lead wire cover (1).
19. Using a soldering iron, heat and disconnect the brush lead wires (2) from the regulator terminals.
20. Remove the brushes and the brush springs (3) from the regulator.