Curiosii for ever!: Car repair manuals for everyone.

Ignition System Description

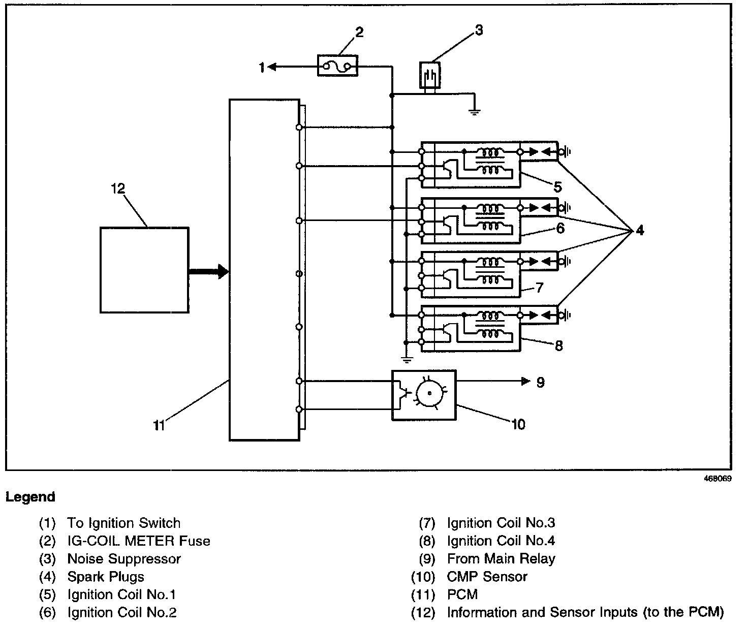
Ignition System:




Ignition System
The electronic ignition system used here is a coil-on-plug design that is controlled by the Powertrain Control Module (PCM).
The ignition system components cannot be disassembled or repaired. A component that is correctly diagnosed as faulty must be replaced as a complete unit.

Ignition Coil Assembly:




Ignition Coil Assembly
The ignition coil (2) has a high voltage output terminal and boot, that provides spark directly to the spark plug (3). Each ignition coil assembly has a built-in ignition module (igniter) that controls the current flow in the primary coil winding. The secondary coil voltage travels directly to the spark plug, increasing secondary ignition voltage by eliminating the spark plug wire.

Ignition System:




Operation
The PCM uses reference pulses from the CMP sensor in order to determine engine speed. The PCM cannot operate the ignition system - or the fuel injectors - without the engine speed signal from the CMP.

The four ignition coils supply spark to each engine cylinder (spark plug) at precisely the right time. When the PCM signals the ignition coil's built-in ignition module to interrupt the current flow in the primary coil windings, the electrical field around the primary coil collapses and a high voltage is induced in the secondary coil. The secondary coil voltage travels unhindered to the spark plug, through the high voltage output terminal and boot assembly.

The PCM also uses the CMP sensor signal as an input for control of the fuel injectors and ignition timing. The CKP sensor signal is used by the PCM for engine misfire detection.

The PCM provides three modes of ignition timing control. Each ignition timing mode provides the most suitable spark advance for optimal engine performance. The following are the 3 modes of ignition timing control:
^ Initial Timing Control (at engine start) - The Initial Timing Control ignition advance provides better starting performance of the engine at start-up, when engine speed is less than 500 RPM. The PCM sets initial ignition timing advance to 5 degrees BTDC.
^ Basic Timing Control (after engine start) - After the engine is running, ignition timing advance is determined by combining Basic Timing Control and Compensating Timing Control. Basic Timing Control ignition advance is based on engine coolant temperature, engine speed, and intake air volume. The ignition timing advance value, calculated from the ECT sensor, the CMP sensor, and the MAF sensor input, is added to the 5 degrees initial advance, and modified by the Compensating Timing Control value.
^ Compensating Timing Control - The Compensating Timing Control ignition advance is added to the Basic Timing Control value and varies according to engine and vehicle conditions. The most important factors in calculating the compensating ignition advance value are engine coolant temperature, intake air temperature, and engine idling demands.

Ignition timing is adjustable. The CMP sensor housing can be repositioned, much like a distributor, in order to adjust the base ignition timing setting. A scan tool must be used to request that the PCM operate the ignition system in the ignition timing check mode. Refer to Ignition Timing Adjustment in Computers and Control Systems.

Noteworthy Ignition Information
Consider the following important information when servicing the ignition system:
^ The ignition coil's secondary output voltage is very high - more than 40,000 volts. Avoid body contact with the ignition high voltage secondary components when the engine is running or personal injury may result.
^ All four ignition coils are the same. Swapping ignition coils from one cylinder to another in order to determine the cause of a cylinder specific concern, can be a useful diagnostic procedure.
^ Be careful not to damage the secondary ignition terminal or boot when servicing the ignition system. Do not disassemble the ignition coil assembly for testing purposes.
^ Do not use a conventional tachometer in order to check engine speed an this ignition system. An inductive type pick-up can not be adapted to provide reliable engine speed information. Use a scan tool in order to monitor engine speed (RPM).

Secondary Wiring
The secondary (spark plug) wiring used with the 1.6L ignition system withstands very high temperatures, thus providing an excellent insulator for the high voltages generated by the ignition system. The spark plug boot forms a tight seal on the spark plug. The boot should always be twisted one-half turn before removing the secondary wire from the spark plug.

The material used to construct the secondary wiring is very soft. This allows the wiring to withstand more heat and carry a higher voltage than traditional wiring; however, the wire is more susceptible to scuffing and damage. The secondary wires must be routed correctly to prevent chafing or cutting. When removing a secondary wire from a spark plug or an ignition coil, twist the boot one-half turn and pull on the boot only.

The ignition system is a coil-on-plug design that eliminates the secondary wiring.

Spark Plugs

NOTE: Allow the engine to cool down before removing the spark plugs. Removing the spark plugs from an engine at operating temperature may damage the spark plug threads in the aluminum cylinder head.

Normal service is considered to be a mixture of idling, slow-speed and high-speed driving. Occasional or intermittent highway driving is needed for good spark plug performance. The higher combustion temperature generated during highway driving burns away any deposits of carbon or oxides that build up from frequent idling or continuous stop-and-go driving. Spark plugs are protected by an insulating nipple made of special heat-resistant material, which covers the spark plug terminal and extends downward over a portion of the plug insulator. These nipples prevent flash-over which causes engine misfiring. Do not mistake corona discharge for flash-over, or a shorted insulator. Corona discharge is a steady blue light appearing around the insulator, just above the shell crimp. It is the visible evidence of a high-tension field and has no effect on ignition performance.

Spark plugs must operate within certain temperature limits if they are to provide the performance and service life expected. The spark plug selected for an engine is based on the normal service for which the engine was designed and may not perform satisfactorily under other than normal operating conditions. For almost exclusive city driving, a spark plug one step higher in the heat range might deliver longer service life than the spark plug recommended. Conversely, a spark plug one step colder will perform better for heavy loads or continual high-speed driving.

There are three rules to follow when selecting spark plugs for an engine in good condition.
1. Select a spark plug with the specified heat range.
2. If spark plug overheating occurs, select a spark plug that is one heat range lower than the specified heat range.
3. If fouling is a problem, select a spark plug that is one heat range higher than the specified heat range.

Ignition Switch
The ignition switch is located on the right side of the steering column below the steering wheel. The electrical and mechanical portions of the switch work in conjunction with each other. For more information regarding the ignition switch and the key and lock cylinder, refer to Ignition Switch Replacement in Steering Wheel and Column.