Curiosii for ever!: Car repair manuals for everyone.

General

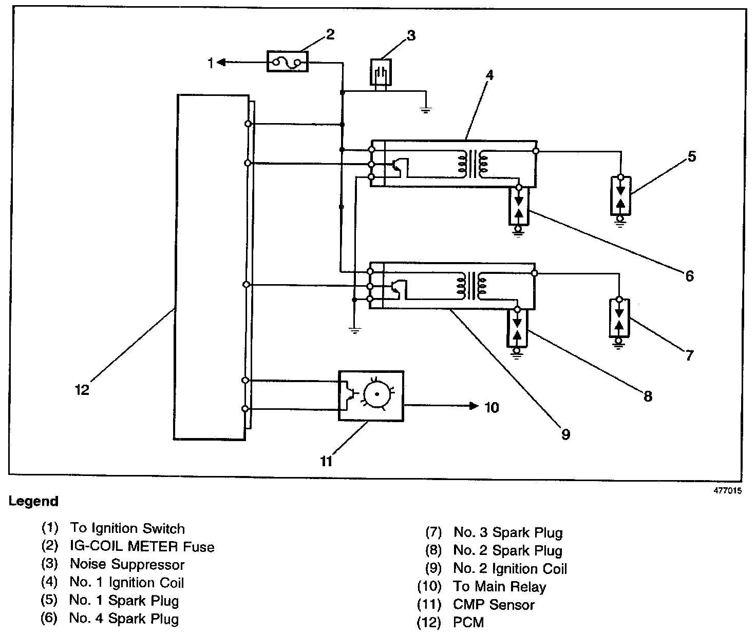
Electronic Ignition (EI) System Description:




The electronic ignition system used in the 1.6L engine is controlled by the Powertrain Control Module (PCM).

The electronic ignition system components cannot be disassembled or repaired. A component that is correctly diagnosed as faulty must be replaced as a complete unit.