Curiosii for ever!: Car repair manuals for everyone.

Manifold Pressure/Vacuum Sensor: Description and Operation

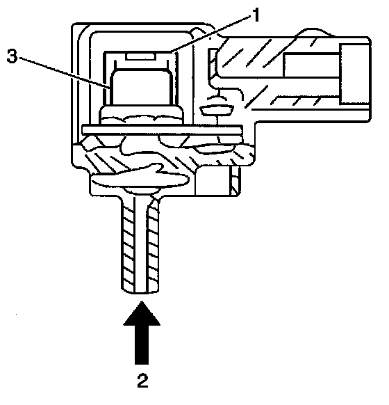
Manifold Absolute Pressure (MAP) Sensor:




The Manifold Absolute Pressure (MAP) sensor (1) measures the change in the intake manifold pressure (vacuum) (2). The Powertrain Control Module (PCM) applies 5 volts to the MAP sensor. The MAP sensor consists of a semi-conductor type pressure sensing element (3). The pressure sensing element converts a change in pressure into an electrical signal. The MAP sensor also contains electronic circuitry that amplifies and corrects the electrical signal. The PCM monitors the change in manifold pressure that results from the changes in RPM and engine load. A low MAP sensor voltage reading at the PCM indicates low manifold pressure. A high MAP sensor voltage reading at the PCM indicates high manifold pressure.