Curiosii for ever!: Car repair manuals for everyone.

Crankshaft Position Sensor: Description and Operation

Crankshaft Position (CKP) Sensor:




The crankshaft position sensor (1) is mounted in the engine block (2), behind the flywheel or flexplate. The PCM receives a digital signal from the CKP sensor. The PCM uses the CKP sensor signal in order to determine crankshaft speed. The PCM uses crankshaft speed as one of the inputs in engine misfire monitoring. The CKP sensor is not adjustable.

Operation:




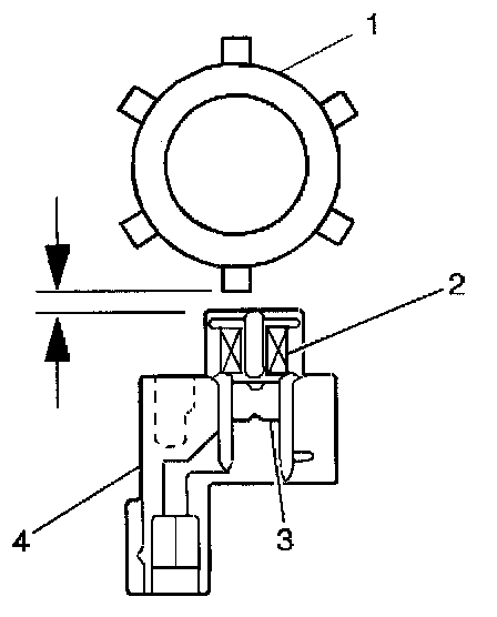
Operation
The CKP sensor (4) generates a magnetic field within the magnet (3) and coil (2) assembly. The CKP sensor has a specified air gap between the sensor core end and the crankshaft signal rotor (1) that is located on the crankshaft. An AC voltage is generated in the sensor when crankshaft rotation causes a change in the magnetic flux. The CKP sensor sends the A/C voltage signal to the PCM.