Curiosii for ever!: Car repair manuals for everyone.

Tailgate: Service and Repair



Endgate Replacement

Removal Procedure

1. Remove the endgate hinge cover from the vehicle by gently prying in order to release the plastic retainers which secure the cover.
2. Remove the spare wheel carrier. Refer to Spare Wheel and Carrier Replacement (Service and Repair) .
3. Remove the endgate trim panel seal. Refer to Water Deflector Replacement (2 Door) (Water Deflector Replacement (2 Door))Water Deflector Replacement (4 Door) (Water Deflector Replacement (4 Door)) .
4. Remove the rear license plate housing. Refer to Rear License Plate Housing Replacement (2 Door) (Rear License Plate Housing Replacement (2 Door))Rear License Plate Housing Replacement (4 Door) (Rear License Plate Housing Replacement (4 Door)) .
5. Remove the endgate lock cylinder. Refer to Endgate Lock Cylinder Replacement (Service and Repair) .
6. Remove the endgate lock. Refer to Rear Door Lock Replacement (2 Door) (Rear Door Lock Replacement (2 Door))Rear Door Lock Replacement (4 Door - Without Power Locks) (Rear Door Lock Replacement (4 Door - Without Power Locks))Rear Door Lock Replacement (4 Door - With Power Locks) (Rear Door Lock Replacement (4 Door - With Power Locks)) .




7. Remove the endgate bumper. Refer to Rear Door Bumper Replacement (2 Door) (Rear Door Bumper Replacement (2 Door))Rear Door Bumper Replacement (4 Door) (Rear Door Bumper Replacement (4 Door)) .
8. Remove the endgate strut. Refer to Endgate Strut Replacement (Service and Repair) .
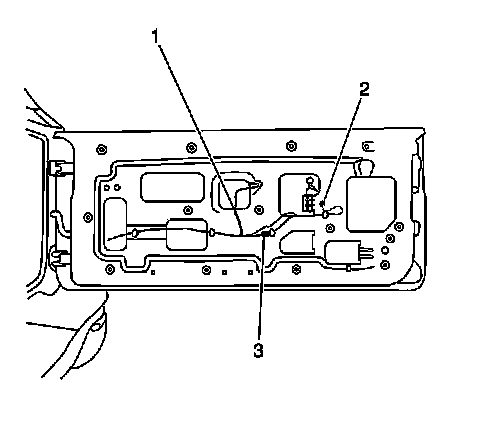
9. Remove the screw (2) which secures the endgate wiring harness ground wire (1).
10. Release the plastic retainers (3) which secure the endgate door wiring harness (1) to the endgate panel.
11. Feed the wiring harness (1) through the endgate panel.
12. Remove the grommet and wiring harness (1) from the endgate panel.




13. Suitably support the endgate panel.
14. Remove the 4 bolts (3) which secure the endgate lower hinge to the endgate panel (2).
15. Remove the 2 bolts (1) which secure the endgate upper hinge to the endgate panel (2).
16. Remove the endgate panel (2) from the vehicle.



Installation Procedure





1. Install the endgate panel (2) to the vehicle. Secure the endgate with the 2 endgate upper hinge bolts (1). Do not tighten fully at this time.

Notice: Refer to Fastener Notice in Cautions and Notices.

2. Install the 4 bolts (3) which secure the endgate lower hinge to the endgate panel (2).

Tighten the endgate hinge bolts to 34 N.m (25 lb ft).

3. Remove the support from the endgate panel.




4. Install the grommet and endgate wiring harness (1) to the endgate panel.
5. Feed the wiring harness (1) through the endgate panel. Secure the wiring harness to the endgate with the plastic retainers (3).
6. Install the screw (2) which secures the endgate wiring harness ground wire (1).
7. Install the endgate strut. Refer to Endgate Strut Replacement (Service and Repair) .
8. Install the endgate bumper. Refer to Rear Door Bumper Replacement (2 Door) (Rear Door Bumper Replacement (2 Door))Rear Door Bumper Replacement (4 Door) (Rear Door Bumper Replacement (4 Door)) .
9. Install the endgate lock. Refer to Rear Door Lock Replacement (2 Door) (Rear Door Lock Replacement (2 Door))Rear Door Lock Replacement (4 Door - Without Power Locks) (Rear Door Lock Replacement (4 Door - Without Power Locks))Rear Door Lock Replacement (4 Door - With Power Locks) (Rear Door Lock Replacement (4 Door - With Power Locks)) .
10. Install the endgate lock cylinder. Refer to Endgate Lock Cylinder Replacement (Service and Repair) .
11. Install the rear license plate housing. Refer to Rear License Plate Housing Replacement (2 Door) (Rear License Plate Housing Replacement (2 Door))Rear License Plate Housing Replacement (4 Door) (Rear License Plate Housing Replacement (4 Door)) .
12. Install the endgate trim panel seal. Refer to Water Deflector Replacement (2 Door) (Water Deflector Replacement (2 Door))Water Deflector Replacement (4 Door) (Water Deflector Replacement (4 Door)) .
13. Install the spare wheel carrier. Refer to Spare Wheel and Carrier Replacement (Service and Repair) .
14. Install the endgate hinge cover to the endgate panel. Ensure that the plastic retainers are fully engaged.




15. Adjust the striker (1) vertical measurement in order to align with the center of the endgate lock (2).
16. Keep the lock striker (1) level while moving the striker sideways in order to adjust the endgate flushness with the quarter panel, as needed. Refer to Door Adjustment () in Doors.