Curiosii for ever!: Car repair manuals for everyone.

Measuring Procedure

TOOLS REQUIRED
^ J 39200 Digital Multimeter
^ J 26900-5 Vernier Caliper




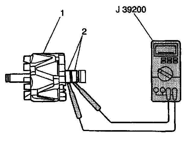
1. Measure the resistance between the rotor slip rings (2) using J 39200. If the resistance is greater than 2.5-2.9 ohms, replace the rotor.




2. Measure the resistance between the rotor slip rings (2) and the rotor (1) using the J 39200. If the resistance is less than 5 ohms, replace the rotor.
3. Inspect the rotor slip rings for roughness or scoring. If the slip rings are rough or scored, replace the rotor.




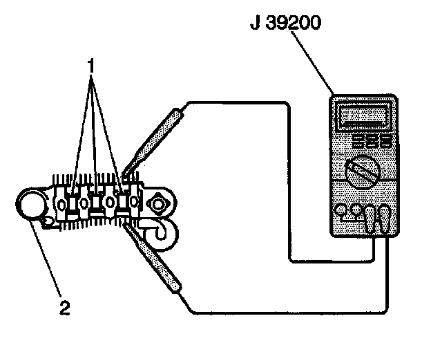
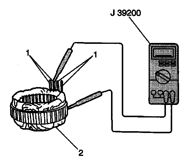
4. Measure the resistance between all stator leads (1) using J 39200. If the resistance is greater than 5 ohms for any measurement, replace the stator (2).




5. Measure the resistance between all stator leads (1) and the stator core using J 39200. If the resistance is less than 5 ohms, replace the stator (2).




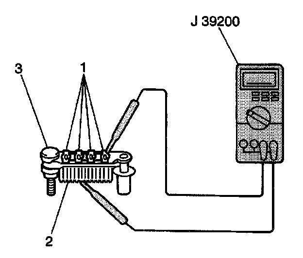
6. Measure the length of each brush (3) using J 26900-5. If the brush length is less than the minimum, replace the brush.

Standard Brush Length
16 mm (0.63 in)

Minimum Brush Length
2 mm (0.08 in)




7. Measure the resistance between the rectifier upper body (2) and each diode lead (1) using J 39200. Reverse the probes and measure the resistance again. The resistance should be less than 5 ohms in one measurement and greater than 5 ohms in the other measurement. If not, replace the rectifier.




8. Measure the resistance between the rectifier lower body (2) and each diode lead (1) using the J 39200. Reverse the probes and measure the resistance again. The resistance should be less than 5 ohms in one measurement and greater than 5 ohms in the other measurement. If not, replace the rectifier.




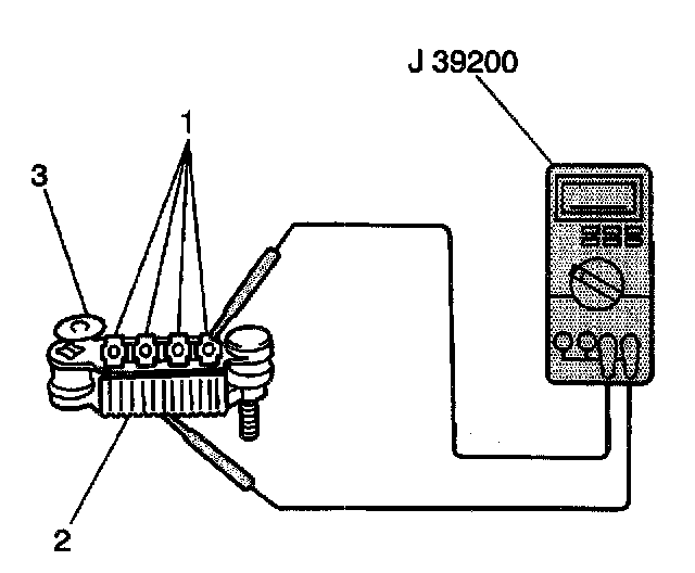
9. Measure the resistance between both leads of each rectifier diode trio (1) using the J 39200. Reverse the probes and measure the resistance again. The resistance should be less than 5 ohms in one measurement and greater than 5 ohms in the other measurement. If not, replace the rectifier.




10. Measure the condenser (2) capacity using a digital capacitor meter. If the condenser capacity is not 0.5 microfarads, replace the rectifier (1).