Curiosii for ever!: Car repair manuals for everyone.

Engine Oil Level Sensor/Switch Diagnosis

Diagnostic Chart (Part 1 Of 2):




Diagnostic Chart (Part 2 Of 2):




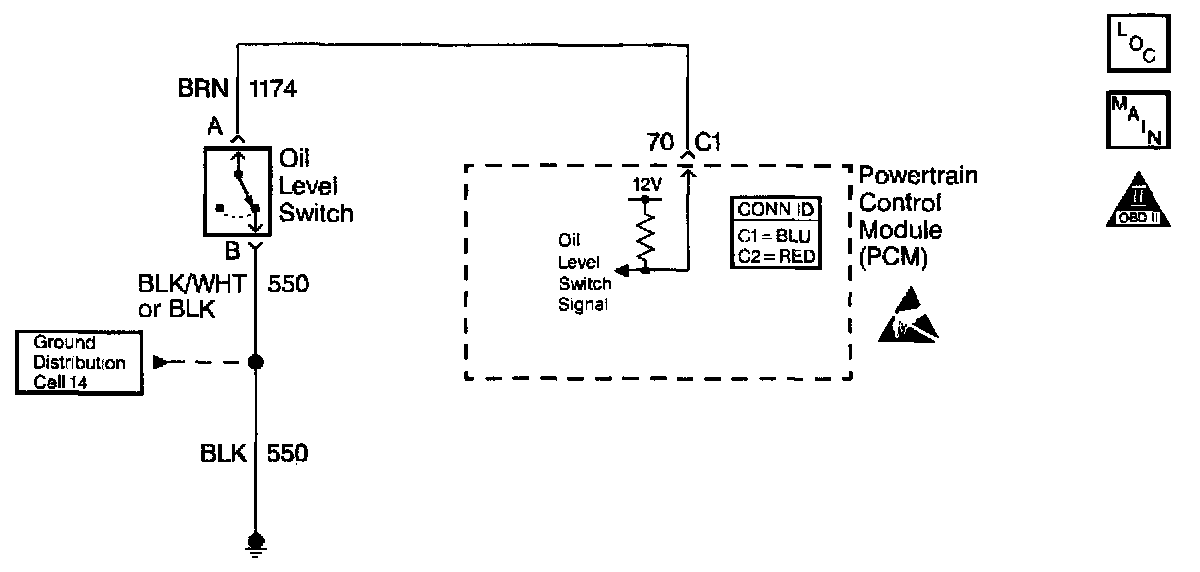
Schematic:




CIRCUIT DESCRIPTION
The oil level switch is a normally open switch. When the oil level is within an acceptable range the oil level switch closes. The switch opens when the engine oil level drops below a predetermined amount. The Powertrain Control Module (PCM) tests the engine oil level switch circuit with the ignition ON, engine OFF. The PCM monitors the engine coolant temperature to ensure proper engine oil drain back to the oil pan. When the engine is colder the engine oil drain back process takes a greater amount of time.

The PCM sends a message via Glass 2 to the Instrument Panel Cluster (IPC) to turn ON the oil level message when the engine oil level drops below a predetermined value and the conditions for running the test are met.




CONDITIONS FOR TESTING FOR LOW ENGINE OIL
^ DTC P0117 and P0118 are not set.
^ The ignition is ON with the engine OFF.
^ The PCM compares the last ignition OFF engine coolant temperature, stored temperature, to the ignition ON engine coolant temperature.
^ If the PCM determines the ignition ON engine coolant temperature is cooler then ignition OFF engine coolant temperature by a predetermined amount, the PCM tests the engine oil level sensor circuit. The following table illustrates the required temperatures to enable the engine oil level test:

CONDITIONS FOR CLEARING THE LOW ENGINE OIL LEVEL MESSAGE
^ Repair the engine low oil level circuit or low oil level condition as necessary.
^ Start and idle the engine.
^ Allow the engine to reach operating temperature of 90°C (194°F).
^ Turn OFF the engine.
^ The ignition must remain OFF for a minimum of one hour. The engine coolant temperature should decrease by 10°C (-18°F). When you turn the ignition ON the conditions for performing the test should be met and the Low Engine Oil message clears.

DIAGNOSTIC AIDS

IMPORTANT: Remove any debris from the PCM connector surfaces before servicing the PCM. Inspect the PCM connector gaskets when diagnosing or replacing the PCM. Ensure that the gaskets are installed correctly. The gaskets prevent water intrusion into the PCM.

The following may cause an intermittent:
^ Poor connections - Check for adequate terminal tension. Refer to Testing for Intermittent and Poor Connections and Connector Repairs in Diagrams.
^ Corrosion
^ Mis-routed harness
^ Rubbed through wire insulation
^ Broken wire inside the insulation

TEST DESCRIPTION
The numbers below refer to the step numbers on the diagnostic table.
6. This steps tests the Oil Level sensor signal circuit between the PCM and the sensor.
7. This steps tests the Oil Level sensor ground circuit between the PCM and the sensor.
8. This steps tests for an open in the Oil Level sensor signal circuit between the PCM and the Oil Level sensor.
9. This steps tests the Oil Level signal circuit for a short to ground.
18. This steps Clears the Low Oil Level message. The engine coolant temperature should decrease by 10°C (18°F). When you turn ON the ignition the conditions for performing the test should be met and the Low Engine Oil message clears.