Curiosii for ever!: Car repair manuals for everyone.

Air Bag Control Module: Service and Repair

CAUTION:
^ Be careful when you handle a Sensing And Diagnostic Module (SDM). Do not strike or jolt the SDM. Before applying power to the SDM:
^ Remove any dirt, grease, etc. from the mounting surface
^ Position the SDM horizontally on the mounting surface
^ Point the arrow on the SDM toward the front of the vehicle
^ Tighten all of the SDM fasteners and SDM bracket fasteners to the specified torque value

Failure to follow the correct procedure could cause air bag deployment, personal injury, or unnecessary SIR system repairs.

^ If any water enters the vehicle's interior up to the level of the carpet or higher and soaks the carpet, the sensing and diagnostic module (SDM) and the SDM harness connector may need to be replaced. The SDM could be activated when powered, which could cause deployment of the air bag(s) and result in personal Injury. Before attempting these procedures, the SIR system must be disabled. Refer to Disabling the SIR System.

With the ignition OFF, inspect the SDM mounting area, including the carpet. If any significant soaking or evidence of significant soaking is detected, you must perform the following tasks:
1. Remove all water.
2. Repair the water damage.
3. Replace the SDM harness connector.
4. Replace the SDM.

Failure to follow these tasks could result in possible air bag deployment, personal injury, or otherwise unneeded SIR system repairs.


REMOVAL PROCEDURE

CAUTION: Refer to SIR Handling Caution in Service Precautions.




1. Disable the SIR system. Refer to Disabling the SIR System.
2. Remove the driver seat.
3. Remove the front door stepwell mat.
4. Fold back the carpet to access the inflatable restraint sensing and diagnostic module (SDM).
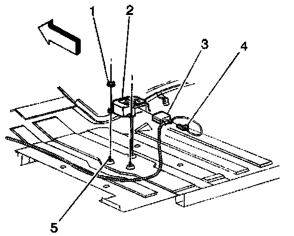
5. Remove the Connector Position Assurance (CPA) (4) from the inflatable restraint Sensing And Diagnostic Module (SDM) harness connector (3).
6. Disconnect the SDM harness connector (3) from the SDM.
7. Remove the SDM (2) mounting fasteners (1).
8. Remove the SDM from the vehicle (2).

IMPORTANT: The following repair procedures should only be used in the event that the inflatable restraint Sensing And Diagnostic Module (SDM) mounting studs and /or fasteners are damaged to the extent that the SDM may no longer be properly mounted.

9. Repair the fasteners using the following procedure:
9.1. Remove the stripped nut and discard the nut.
9.2. Drill out the weld spots to the weld stud from the floor pan side, then remove and discard the stud.
9.3. Condition the floor panel attaching surface where the new stud is to be installed.
9.4. Install new weld stud GM P/N 115115602 and clamp the weld stud.
9.5. Migweld the stud at the drilled holes from above or below the floor pan (as required).
9.6. Apply body sealer GM P/N 9984248 around any exposed openings.
9.7. Install a new fastener GM P/N 11515933.

INSTALLATION PROCEDURE




1. Install the SDM (2) to the vehicle (5).

NOTE: Refer to Fastener Notice in Service Precautions.

2. Install the SDM mounting fasteners (1).

Tighten
Tighten fasteners to 10 N.m (89 lb in).

3. Install the SDM harness connector (3) to the SDM (2).
4. Install the Connector Position Assurance (CPA) (4) to the SDM harness connector (3).
5. Position the carpet to cover the inflatable restraint Sensing And Diagnostic Module (SDM).
6. Install the front door stepwell mat.
7. Install the driver seat.
8. Enable the SIR system. Refer to Enabling the SIR System.