Curiosii for ever!: Car repair manuals for everyone.

Ride/Trim Height Inspection Procedure



Z Height Measurement
1. Lift the front bumper of the vehicle up about 38 mm (1.5 inch).
2. Remove your hands. Let the vehicle settle.






3. Repeat this operation for a total of 3 times.
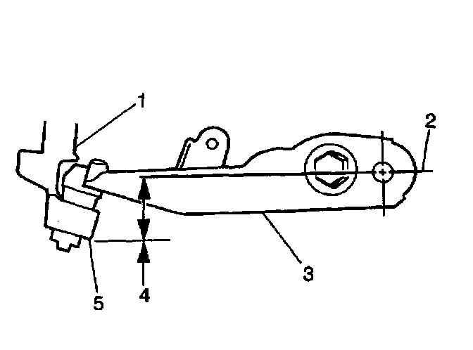
4. For all vehicles, measure from the pivot bolt center line (2) down to the lower corner (5) of the steering knuckle (1) in order to obtain the Z height measurement (4).
5. Push the front bumper of the vehicle down about 38 mm (1.5 inch).
6. Remove your hands.
7. Allow the vehicle to rise.
8. Repeat the operation for a total of 3 times.
9. Measure the Z dimension.
10. The true Z dimension number is the average of the high and the low measurements.
- For 4WD 15 and 25 series pick ups, the Z measurement should be between 110 - 122 mm (4.4 - 4.8 inch).
- For all 15 series utility vehicles, the Z measurement should be between 110 - 122 mm (4.4 - 4.8 inch).
- For 4WD 25 series utility vehicles, the Z measurement should be between 110 - 122 mm (4.4 - 4.8 inch).