Curiosii for ever!: Car repair manuals for everyone.

Inflatable Restraint Instrument Panel (IP) Module

TOOLS REQUIRED
^ J 39401-B SIR Deployment Fixture
^ J 38826 SIR Deployment Harness
^ An appropriate pigtail adapter

CAUTION:
^ Refer to Inflator Module Disposal Caution in Cautions and Notices.
^ When you are deploying an inflator module for disposal, perform the deployment procedures in the order listed. Failure to follow the procedures in the order listed may result in personal injury.


Deploy the inflatable restraint Instrument Panel (IP) inflator module outside of the vehicle when the vehicle will be returned to service. Situations that require deployment outside of the vehicle include the following:
^ Using the SIR diagnostics, you determine that the inflator module does not function properly.
^ The inflator module is scratched or ripped on the cover.
^ The inflator module pigtail (if equipped) is damaged.
^ The inflator module connector is damaged.
^ An inflator module connector terminal is damaged.

Deployment and disposal of a malfunctioning inflator module is subject to any required retention period.

IMPORTANT: Refer to the latest General Motors Service Bulletins before deploying a passenger inflator module.




1. Turn the ignition switch to the OFF position.
2. Remove the ignition key.
3. Put on safety glasses.
4. Inspect the J 38826 SIR Deployment Harness and the appropriate pigtail adapter for damage. Replace as needed.
5. Short the two SIR deployment harness (1) leads together using one banana plug seated into the other.
6. Connect the appropriate pigtail adapter (2) to the SIR deployment harness (1).
7. Remove the inflatable restraint instrument panel (IP) module.

CAUTION: Refer to Inflator Module Handling And Storage Caution in Cautions and Notices.




8. Place the module with the vinyl trim cover facing up and away from the surface on a work bench.




9. Clear a space on the ground about 85 meters (6 ft) in diameter for deployment of the module. If possible, use a paved, outdoor location free of activity. Otherwise, use a space free of activity on the shop floor. Make sure you have sufficient ventilation.
10. Make sure no loose or flammable objects are in the area.
11. Place the J39401-B SIR Deployment Fixture in the center of the cleared area.
12. Fill the fixture's plastic reservoir with water or sand.




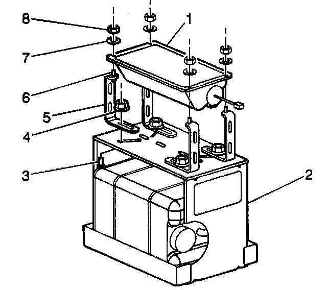
13. Secure the J 39401-7A arms (5) to the deployment fixture (2) using carriage bolts (3) and nuts (4).
14. Mount the module (1) in the SIR deployment fixture (2) with the vinyl trim cover facing up using one of the following mounting methods.

IMPORTANT: Securely hand tighten at fasteners prior to deployment.

15. To mount, use four M 6 bolts (6), nuts (8), and washers (7) in order to secure the module (1) to the deployment fixture (2).




16. Extend the SIR deployment harness and adapter to full length from the module.
17. Place a 12 V minimum/2 A minimum power source (i.e., vehicle battery) near the shorted end of the harness.




18. Connect the module (1) to the adapter (2) on the SIR deployment harness (3).
19. Firmly seat the adapter into the module connector.
20. Clear the area of people.

CAUTION: When you are deploying an inflator module for disposal, perform the deployment procedures in the order listed. Failure to follow the procedures in the order listed may result in personal injury.




21. Separate the two banana plugs on the. SIR deployment harness.

IMPORTANT
^ The rapid gas expansion involved with deploying an air bag is very loud. Notify all the people in the immediate area that you intend to deploy the inflator module.
^ When the air bag deploys, the SIR deployment fixture may jump vertically. This is a normal reaction of the inflator module to the force of the rapid gas expansion inside the air bag.




22. Connect the SIR deployment harness wires to the power source.




23. Disconnect the SIR deployment harness from the power source after the air bag deploys.
24. Seat one banana plug into the other in order to short the deployment harness leads.
25. If the air bag did not deploy, disconnect the adapter and discontinue the procedure. Contact the Technical Assistance Group. Otherwise, proceed to the following steps.

CAUTION: Refer to Deployed inflator modules are hot Caution in Cautions and Notices.




26. Put on a pair of shop gloves.
27. Disconnect the pigtail adapter from the inflator module as soon as possible.
28. Inspect the pigtail adapter and the SIR deployment harness. Replace as needed.
29. Dispose of the deployed module through normal refuse channels.
30. Wash hands with a mild soap.