Curiosii for ever!: Car repair manuals for everyone.

Electronic Brake Control Module: Service and Repair

Removal Procedure

Important: After installation, calibrate the new EBCM to the tire size that is appropriate to the vehicle. Refer to Tire Size Calibration portion of Scan Tool Diagnostics.

Caution: Refer to Battery Disconnect Caution in Service Precautions.





1. Disconnect the negative battery cable.

Important: The area around the EHCU MUST be free from loose dirt to prevent contamination of disassembled ABS components.

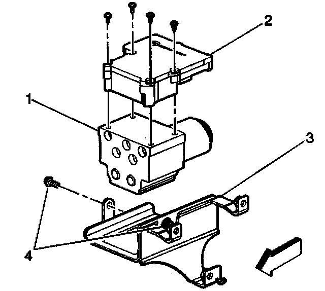
2. Thoroughly wash all contaminants from around the EHCU (1).
3. Disconnect the electrical connectors from the EBCM.
4. Loosen or remove 3 bolts (4) securing the EHCU mounting bracket (3) to the frame rail (5).





5. Gently move the EHCU down enough to remove th3 four mounting screws that fasten the EBCM (2) to the BPMV (1).
6. Remove the EBCM (2) from the BPMV (1). Removal may require a light amount of force.

Important: Do not use a too] to pry the EBCM or the BPMV. Excessive force will damage the EBCM.

7. Clean the BPMV to EBCM mounting surfaces with a clean cloth.


Installation Procedure

Important: Do not reuse the old mounting screws. Always install new mounting screws with the new EBCM.

Important: Do not use RTV or any other type of sealant on the EBCM gasket or mating surfaces.





1. Install the EBCM (2) on to the BPMV (1).

Notice: Refer to Fastener Notice in Service Precautions.

2. Install the four new screws in the EBCM (2).
^ Tighten the four screws to 5 N.m (39 lb in) in an X-pattern.





3. Install or tighten three EHCU bracket mounting bolts.
^ Tighten the EHCU bracket mounting bolts to 25 N.m (18 lb ft).
4. Connect the electrical connectors to the EBCM.
5. Connect the negative battery cable.
6. Revise the tire calibration using the Scan Tool Tire Size Calibration function. Refer to Scan Tool Diagnostics under Testing and Inspection.
7. Return to A Diagnostic Starting Point under Testing and Inspection.