Curiosii for ever!: Car repair manuals for everyone.

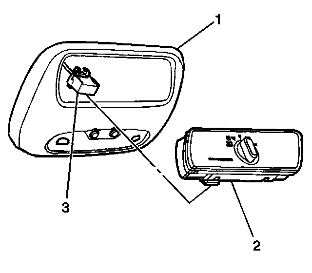
Rear Overhead Control A/C Only

REMOVAL PROCEDURE




1. Separate the front of the console (1) from the headliner.
2. Remove the control assembly (2) by releasing the tabs at the rear of the control.
3. Disconnect the electrical connector (3).

INSTALLATION PROCEDURE




1. Connect the electrical connector (3).
2. Install the control assembly (2) to the console.
3. Install the console (1) to the headliner.