Curiosii for ever!: Car repair manuals for everyone.

Rear Overhead

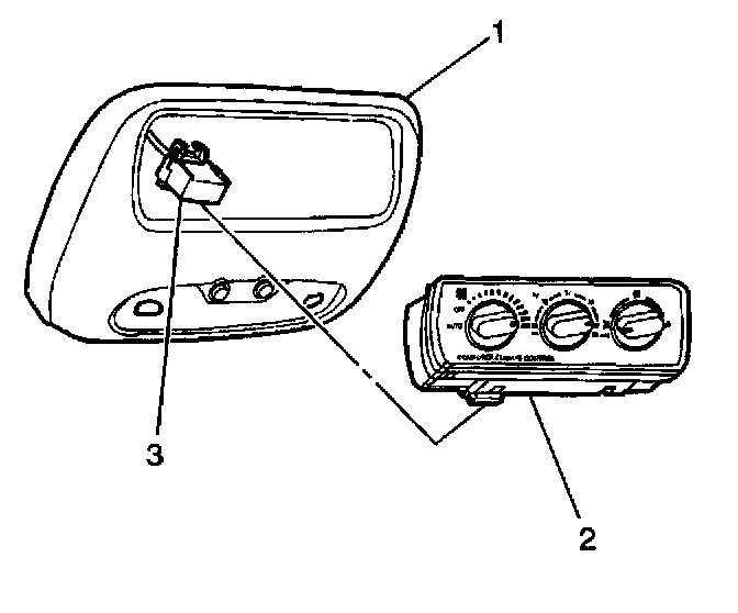
REMOVAL PROCEDURE




1. Separate the front of the console from the headliner
2. Remove the control assembly by releasing the tabs at the rear of the control.
3. Disconnect the electrical connector.

INSTALLATION PROCEDURE




1. Connect the electrical connector.
2. Install the control assembly to the console
3. Install the console to the headliner.