Curiosii for ever!: Car repair manuals for everyone.

Removal Procedure












1. Disable the SIR system.
2. Remove the passenger front seat.
3. Remove the passenger front carpet retainer, then roll back the carpet.
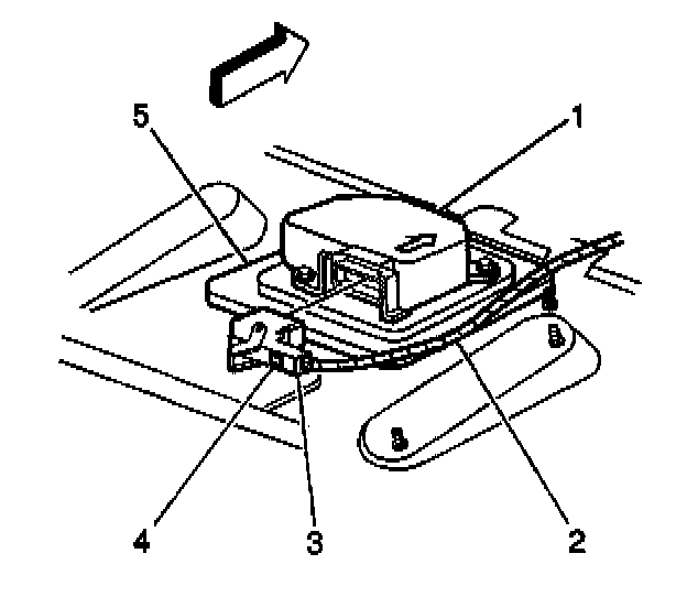
4. Push the locking tab and release the Connector Position Assurance (CPA) from the Inflatable Restraint Sensing and Diagnostic Module (SDM) wiring harness connector (2).
5. Disconnect the SDM wiring harness connector (3) from the SDM (1).
6. Remove the SDM mounting fasteners (1).
7. Remove the SDM (2) from the vehicle.

Important: The following repair procedures should only be used in the event that the Inflatable Restraint Sensing and Diagnostic Module (SDM) mounting studs and /or fasteners are damaged to the extent that the SDM can no longer be properly mounted.