Curiosii for ever!: Car repair manuals for everyone.

Bracket Replacement - Cruise Control Module

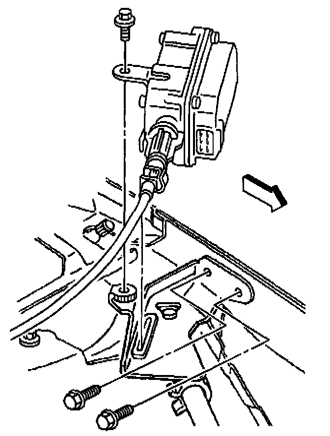
REMOVAL PROCEDURE




1. Remove the cruise control module from the mounting bracket.
2. Remove the inner fender bolts from the cruise control module mounting bracket.
3. Connect the electrical connector to the module.
4. Install the cruise control cable to the module.
5. Adjust the cruise control cable. Refer to Cruise Control Cable Adjustment. Adjustments




3. Perform the following steps in order to remove the mounting bracket:
3.1. Rotate the bracket up.
3.2. Lift the bracket off of the upper diagonal brace.

INSTALLATION PROCEDURE




1. Perform the following steps in order to install the cruise control mounting bracket:
1.1. Push down on the upper diagonal brace.
1.2. Rotate the bracket down, to the previously installed position.





NOTE: Refer to Fastener Notice in Cautions and Notices.

2. Install the inner fender bolts to the cruise control mounting bracket.

Tighten
Tighten the bolts to 6 N.m (53 lb in).

3. Install the cruise control module to the mounting bracket.