Curiosii for ever!: Car repair manuals for everyone.

Pull to Seat Connectors

TERMINAL REMOVAL
Follow the steps below in order to repair pull-to-seat connectors.




1. Remove the Terminal Position Assurance (TPA) device, the Connector Position Assurance (CPA) device, and/or the secondary lock.
2. Separate the connector halves.
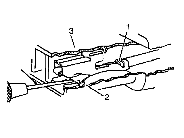
3. Using the proper pick or removal tool (4) insert into the front of the connector body.
4. Grasp the wire at the back of the connector body and gently pull the terminal (1) from the connector body (3).
5. Inspect the terminal for damage, if damaged refer to Terminal Repair.
6. Reform the locking tang (2) it the terminal is being reused.

TERMINAL REPAIR
1. Slip the cable seal away from the terminal.
2. Cut the wire as close to the terminal as possible.
3. Slip a new cable seal onto the wire.
4. Strip 5 mm (3/16 in) of insulation from the wire.
5. Crimp a new terminal to the wire.
6. Solder the crimp with rosin core solder.
7. Slide the cable seal toward the terminal.
8. Crimp the cable seal and the insulation.
9. If the connector is outside of the passenger compartment, apply grease to the connector.

TERMINAL INSTALLATION
1. Inspect the terminal for damage. If damaged refer to Terminal Repair.
2. Reform the locking tang (2) if the terminal is being reused.
3. Ensure that the cable seal is kept on the terminal side of the splice.
4. Insert the wire into the back of the connector body. Push until the terminal locking tang locks into the connector body.
5. Install the TPA, CPA and/or the secondary locks.