Curiosii for ever!: Car repair manuals for everyone.

Removal Procedure





1. Disable the SIR system.
2. Remove the driver seat.
3. Remove the front door stepwell mat.
4. Fold back the carpet to access the Inflatable Restraint Sensing and Diagnostic Module (SDM).
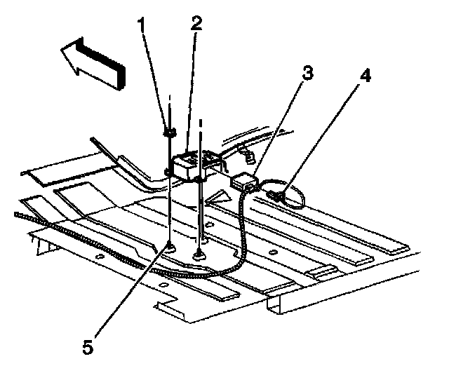
5. Remove the Connector Position Assurance (CPA) (4) from the Inflatable Restraint Sensing and Diagnostic Module (SDM) harness connector (3).
6. Disconnect the SDM harness connector (3) from the SDM.
7. Remove the SDM (2) mounting fasteners (1).
8. Remove the SDM from the vehicle (2).

Important: The following repair procedures should only be used in the event that the Inflatable Restraint Sensing and Diagnostic Module (SDM) mounting studs and/or fasteners are damaged to the extent that the SDM may no longer be properly mounted.

9. Repair the fasteners using the following procedure:
9.1. Remove the stripped nut and discard the nut.
9.2. Drill out the weld spots to the weld stud from the floor pan side, then remove and discard the stud.
9.3. Condition the floor panel attaching surface where the new stud is to be installed.
9.4. Install new weld stud GM P/N 115115602 and clamp the weld stud.
9.5. Migweld the stud at the drilled holes from above or below the floor pan (as required).
9.6. Apply body sealer GM P/N 9984248 around any exposed openings.
9.7. Install a new fastener GM P/N 11515933.