Curiosii for ever!: Car repair manuals for everyone.

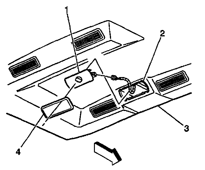
Control Switch Replacement - Auxiliary (Rear)




REMOVAL PROCEDURE
1. Remove the rear control switch bezel (4) from the headliner.
2. Remove the rear control switch (1) by unsnapping the retainers from the headliner.
3. Disconnect the electrical connector.

INSTALLATION PROCEDURE
1. Connect the electrical connector.
2. Install the rear control switch (1) by snapping the retainers to the headliner.
3. Install the rear control switch bezel (4) to the headliner.