Curiosii for ever!: Car repair manuals for everyone.

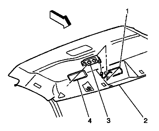
Control Switch Replacement - Auxiliary (Front)




REMOVAL PROCEDURE
1. Remove the front control switch bezel (4) from the headliner.
2. Remove the front control switch (3) by unsnapping the retainers from the headliner.
3. Disconnect the electrical connector.

INSTALLATION PROCEDURE
1. Connect the electrical connector.
2. Install the front control switch (3) by snapping the retainers to the headliner.
3. Install the front control switch bezel (4) to the headliner.