Curiosii for ever!: Car repair manuals for everyone.

Ride/Trim Height Specifications

Z Height Measurement



NOTE: Measure from the lower control arm pivot bolt center line down to the lower corner of the steering knuckle to obtain the Z height dimension.
Z Height:
Service Checking 136.0 mm (5.40 inch)
Service Setting 130 - 142 mm (5.16 - 5.64 inch)



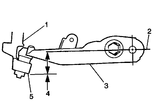
D Height Measurement



NOTE: Measure from the bottom of the rear axle stop bracket (!) to the top to the rear axle (2) to obtain the D height dimension.
D Height:
Service Checking 140 mm (5.50 inch)
Service Setting 134.5 - 145.5 mm (5.26 - 5.74 inch)