Curiosii for ever!: Car repair manuals for everyone.

Assembly Procedure





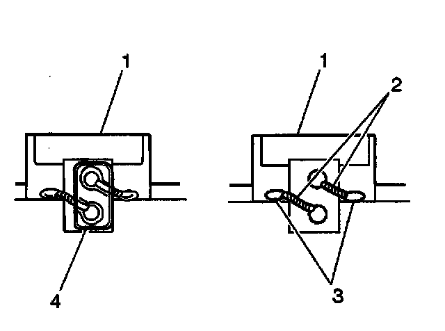
1. Install the brushes (2) to the regulator (1).
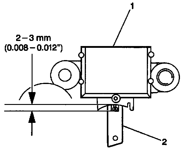
2. Install the brush springs and brushes to the regulator so that the label on each brush is 2 to 3 mm (0.008 to 0.012 in) from the rectifier.





3. Solder the brush lead wires (2) to the regulator terminals (3).
4. Install the brush lead wire cover (4).
5. Install the brush holder to the regulator.
6. Install the regulator and the brush holder to the rear housing





7. Remove the hole plug from the rear housing.
8. Support the brushes with a wire (2) inserted through the hole in the rear housing.

NOTICE: Refer to Fastener Notice in Cautions and Notices.




9. Install the rectifier to the rear housing. Secure the rectifier with one nut.

Tighten
Tighten the generator rectifier nut to 33 N.m (24 lb ft).

10. Install the stator (3) to the rear housing. Secure the stator with four retaining screws.
11. Solder the stator leads to the rectifier.





12. Install the battery terminal retaining nut (2) to the rear housing.

Tighten
Tighten the battery terminal retaining nut to 10 N.m (89 lb in).

13. Install the rear bearing to the rotor.





14. Install the front bearing and the front bearing retainer to the front housing. Secure the front bearing with four screws (1,3).




15. Install the rotor with the spacer to the front housing.

NOTICE: To prevent damage to the rotor, place clean shop cloths between the rotor and the vise.

16. Place the front housing and rotor into a vise, facing the drive pulley end up.
17. Install the drive pulley and the drive pulley washer to the rotor. Secure the drive pulley with a retaining nut.

Tighten
Tighten the drive pulley retaining nut to 65 N.m (48 lb in).

18. Remove the front housing and the rotor from the vise.
19. Using a heat gun, heat the rear housing to approximately 50 to 60°C (122 to 140°F).
20. Install the front housing (4) (with the drive pulley and the rotor) to the stator coil (5) and the rear housing (6), aligning the generator housing match marks.





21. Install the 4 front housing generator housing bolts (1,3).

Tighten
Tighten the generator housing bolts to 17 N.m (10 lb ft).

22. Remove the brush support wire and install the hole plug into the rear housing.
23. Make sure that the rotor rotates smoothly by turning the drive pulley.
24. Install the generator to the vehicle.