Engine Control Module: Service and Repair
CAUTIONS:^ Check the resistance values of all PCM relays, solenoids, and other output controls before replacing or substituting the Powertrain Control Module (PCM). Check all the sensor wiring and the PCM output control circuits for a short to ground before replacing or substituting the PCM. Perform all circuit repairs or malfunctioning component part replacements before installing a replacement or substitute PCM. This will prevent damage to the replacement or substitute PCM.
^ Do not touch the connector pins or soldered components on the circuit board in order to prevent possible electrostatic discharge (ESD) damage to the PCM.
^ Turn the ignition OFF when installing or removing the PCM connectors and disconnecting or reconnecting the power to the PCM (battery cable, PCM pigtail, PCM fuse, jumper cables, etc.) in order to prevent internal PCM damage.
IMPORTANT NOTES:
^ Service of the Powertrain Control Module (PCM) consists of complete replacement of the PCM. There are no serviceable parts, such as Programmable Read Only Memory (PROM) or Erasable Programmable Read Only Memory (EPROM) to replace inside the PCM. If the PCM is determined to be faulty, it is to be replaced as a complete assembly.
^ When replacing the production PCM with a service PCM, it is important to transfer the broadcast code and production PCM number to the service PCM label. This will allow for positive identification of the PCM throughout the service life of the vehicle.
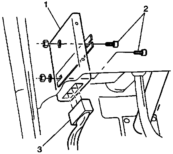
Removal Procedure
1. Disconnect the negative battery cable.
2. Disconnect the PCM electrical connectors (3).
3. Remove the two bolts (2) from the PCM.
4. Remove the PCM (1) from the vehicle.
CAUTIONS:
^ Do not touch the connector pins or soldered components on the circuit board in order to prevent possible electrostatic discharge (ESD) damage to the PCM.
^ Turn the ignition OFF when installing or removing the PCM connectors and disconnecting or reconnecting the power to the PCM (battery cable, PCM pigtail, PCM fuse, jumper cables, etc.) in order to prevent internal PCM damage.
Installation Procedure
1. Transfer the plastic shield from the original PCM to the new PCM (convertible models).
2. Secure the plastic shield to the PCM with the two screws.
3. Connect the PCM electrical connectors (3).
4. Install the PCM (1).
5. Secure the PCM with the two bolts (2).
6. Connect the negative battery cable.