Power Window Switch: Service and Repair
REMOVAL PROCEDURE
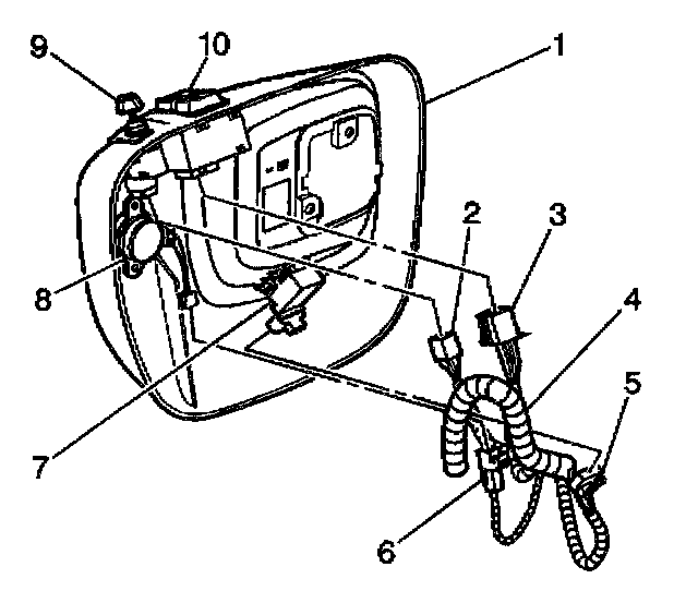
1. Remove the front trim plate.
2. Remove the electrical connector (3) from the power window switch.
3. Release the clip from the front door trim plate (1) in order to remove the escutcheon from the trim plate (1).
4. Release the tabs on the power window switch (10) in order to remove the power window switch (10) from the escutcheon.
INSTALLATION PROCEDURE
1. Install the power window switch (10) to the escutcheon.
2. Push the power window switch (10) in order to engage the locking tabs.
3. Install the escutcheon and the power window switch (10) to the front door trim plate (1).
4. Push the escutcheon and the power window switch in order to engage the retaining clip.
5. Install the electrical connector (3) to the power window switch.
6. Install the front door trim plate (1).