Assembly Procedure
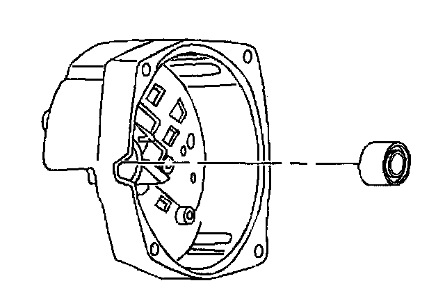
1. Install the inside collar into the rotor.
2. Install the rotor into the drive end frame.
NOTICE: Refer to Fastener Notice in Cautions and Notices.
3. Install the following components onto the rotor shaft:
^ The outside collar
^ The fan
^ The fan collar
^ The pulley
^ The washer
^ The generator shaft nut
Tighten
The nut to 100 N.m (74 lb ft).
4. Install the bearing into the slip ring end frame from the outside, until the bearing is flush with the outside shoulder of the slip ring end frame.
IMPORTANT: In order to insure proper operation of the unit, install the slip ring end frame components in the correct order.
5. Install the rectifier bridge.
IMPORTANT: Install the capacitor with the insulator material resting against the drive end frame.
6. Install the capacitor.
7. Install the washers.
IMPORTANT: Ensure that the insulated bolt, that is located at the capacitor/rectifier bridge, attaches the capacitor strap and the rectifier bridge to the slip ring end frame. Ensure that the metal side of the capacitor strap is against the regulator connection.
8. Install the bolts.
9. Install the brushes onto the brush holder with the retaining pin.
10. Install the dust shield onto the brush holder.
11. Install the following components into the slip ring end frame as one unit:
^ The voltage regulator
^ The brush holder
12. Tap the plastic retaining pin on the dust shield into the retaining clip. Ensure that the brush retaining pin goes through the access hole to the outside of the slip ring end frame for removal after the generator is assembled.
13. Install the regulator bolt.
14. Install the brush holder bolt.
15. Assemble the connector strap to the voltage regulator solder clip. Assemble the brush holder connection to the other voltage regulator solder clip.
NOTICE: Avoid excessive heat when soldering connections, as this can cause voltage regulator damage.
16. Crimp, then solder, the voltage regulator connections.
17. Place the stator terminals over the rectifier bridge terminals in order to assemble the stator.
18. Install the stator lead nuts.
19. Assemble the slip ring and drive end frames. Note the scribe marks.
20. Install the slip ring end bearing outer race into the bearing well in the slip ring end frame casting.
21. Install the through bolts.
22. Remove the retaining pin in order to release the brushes against the slip rings.