Curiosii for ever!: Car repair manuals for everyone.

Metri-Pack Connector Replacement

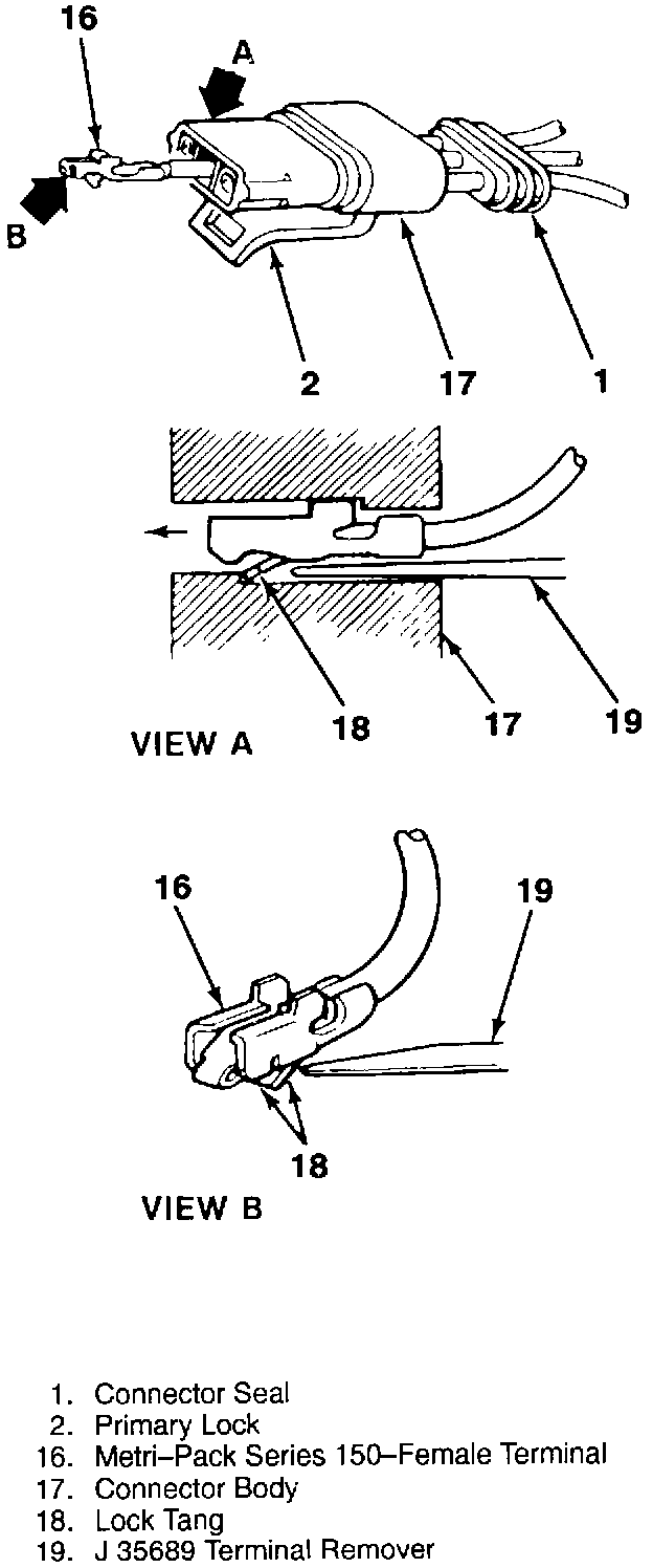
Metri-pack Connector:




Remove or Disconnect
Tool Required: J 35689-A Terminal Remover
1. Primary lock (2) by lifting.
2. Connector body (17).
3. Connector seal (1) by pulling the seal back onto the wires away from the connector body (17).
4. Terminal (16) by inserting J 35689-A (19) into the connector body (17) to depress the locking tang (18), then push the wire and terminal through the connector body.
^ Snip off the old terminal unless the terminal is to be reused; reshape the locking tang.
5. 5mm (0.2 inch) of the wire insulation.

Clean
^ Terminal cavity of the connector body.

Metri-pack Connector:




Install or Connect
1. Terminal (16) on the wire.
^ Crimp and solder the terminal.
2. Terminal (16) into the connector cavity by pulling the wire on the seal side of the connector until the locking tang (18) is fully seated.
3. Seal (1) by pressing the seal into the connector body(17) until it is fully seated.
4. Connector sections until the primary lock (2) engages.