Curiosii for ever!: Car repair manuals for everyone.

A/C Signal: Testing and Inspection

A/C Clutch Control Diagnosis:




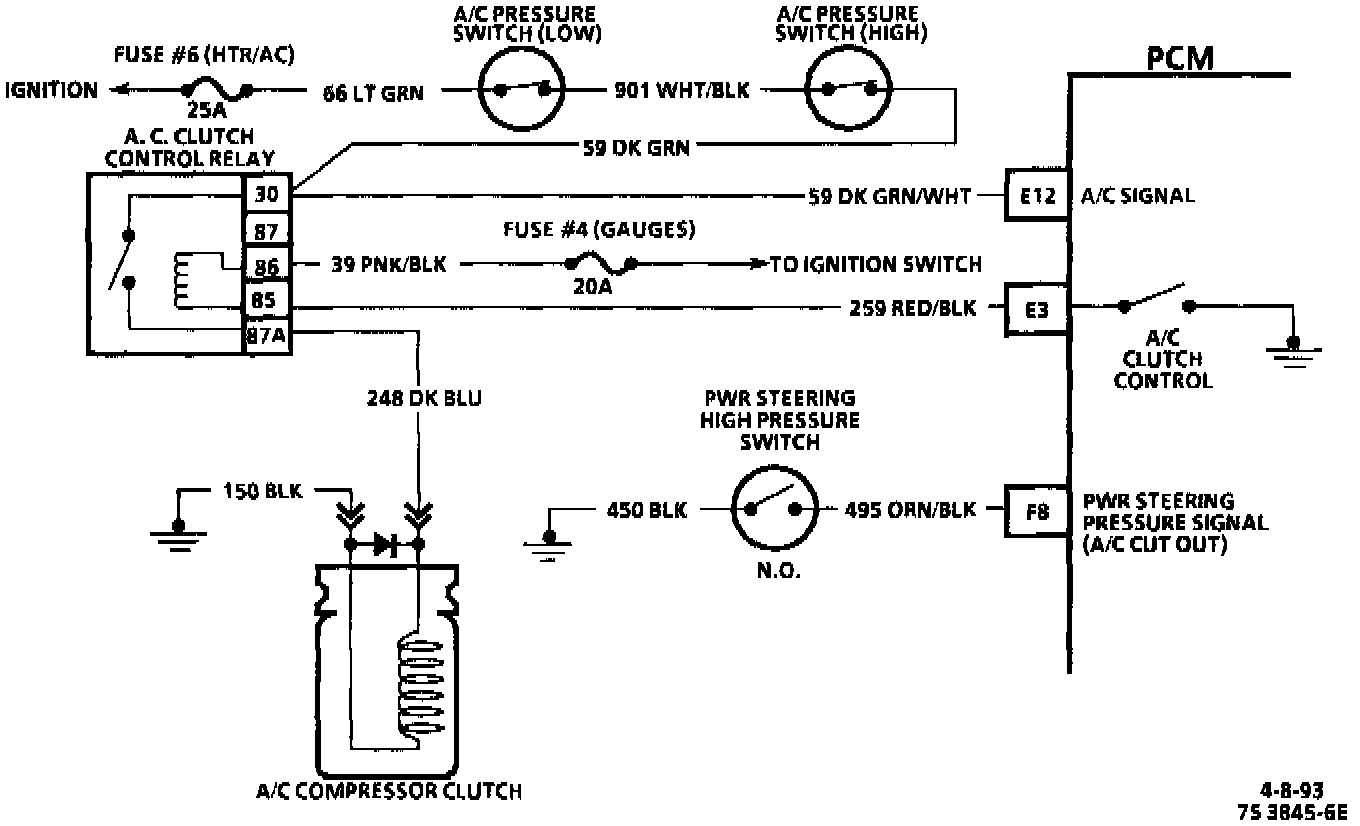
A/C Clutch Control Circuit:






Circuit Description
PCM control of the A/C clutch improves idle quality and performance by:

^ Delaying clutch engagement until the idle speed is increased.
^ Releasing clutch when idle speed is too low.
^ Smooths cycling of the compressor by providing additional fuel at the instant clutch is applied.

Turning "ON" air conditioning supplies CKT 59 battery voltage to the clutch control relay and terminal "E12". After a time delay of about 1/2 second the PCM will ground terminal "E3", CKT 259, and close the control relay. The A/C compressor clutch will then engage.

Chart Test Description
Number(s) below refer to circled number(s) on the diagnostic chart.

1. Checks for low refrigerant as cause for no A/C.

2. This and following tests check for faulty A/C control relay and high and low pressure cutout switches.