Curiosii for ever!
: Car repair manuals for everyone.
Home
>>
Chevy Truck
>>
1994
>>
S10/T10 P/U 2WD L4-134 2.2L
>>
Repair and Diagnosis
>>
Diagrams
>>
Components
>>
Miscellaneous Components
>>
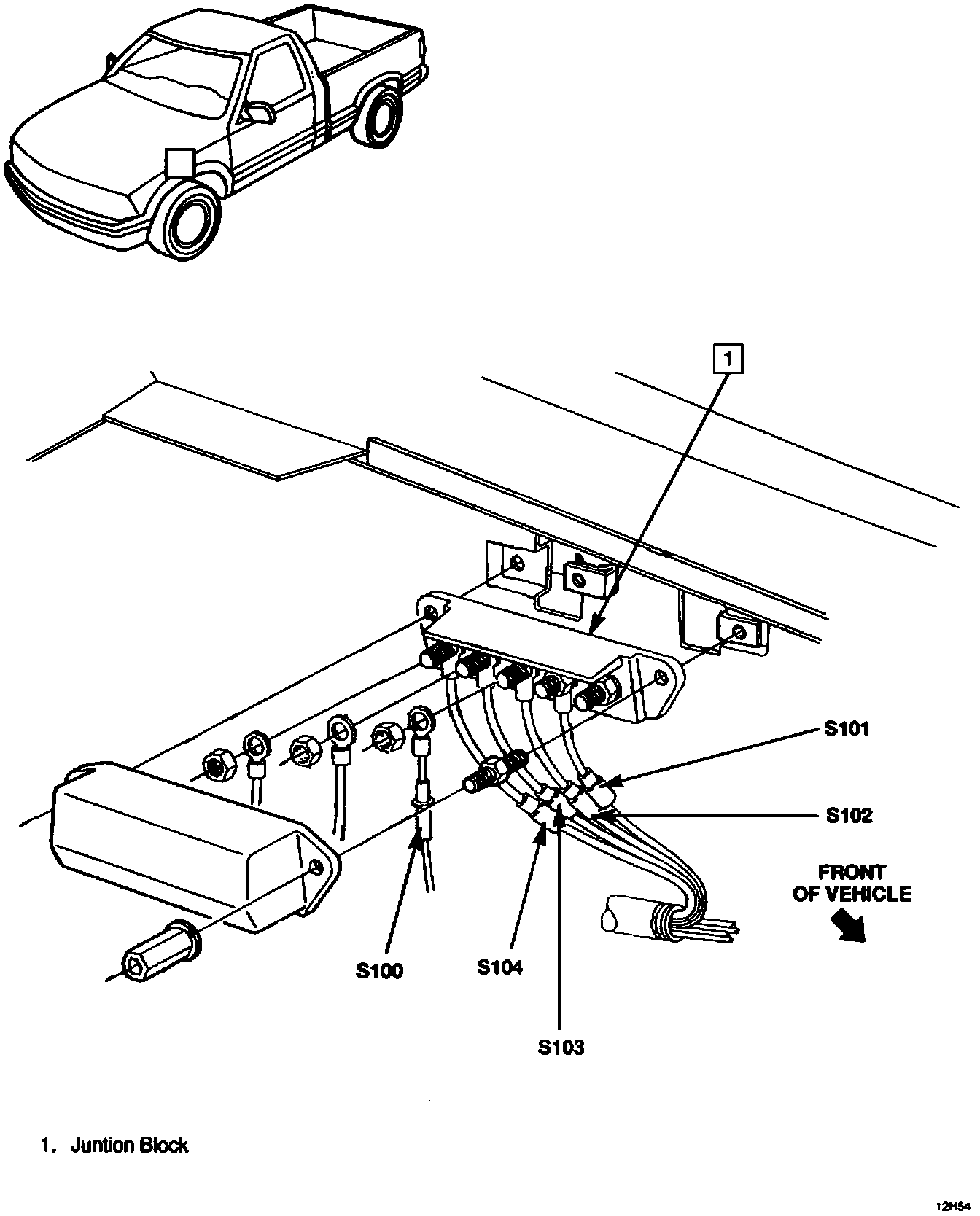
Junction Block
Junction Block
Junction Block Wiring: