Curiosii for ever!: Car repair manuals for everyone.

Circuit Components

Circuit Components:




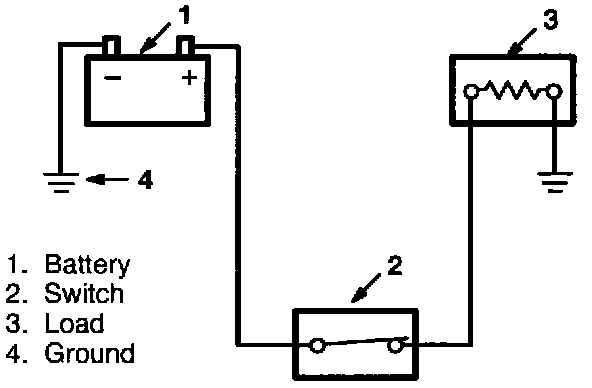
Circuit components include power sources, circuit protection devices, circuit controllers, and circuit loads. Power sources are the battery or generator which provide the power for the circuit. Circuit protection devices are components such as fuses, circuit breakers and fusible links and provide overload protection for the circuit. Circuit controllers are used to control the power flow within a circuit and are usually switches and relays. Circuit loads are the actual component that provides a specific function. Circuit loads can be lights, motors, and solenoids.

Relayless Circuit:




Relay Circuit:




Relays
Battery and load location may require that a switch be placed some distance from either component. This means a longer wire and a higher voltage drop. The installation of a relay between the battery and the load reduces the voltage drop, because the switch controls the relay, the switch can be compact. Refer to Fuse, Circuit Breaker, Lamp Bulb, and Relay Data for a listing of relays used in this vehicle.

Diode Specifications And Configurations:




Diode Markings:




Diodes
Many of the electrical systems in this vehicle use diodes to isolate certain circuits and protect them from voltage surges. Diode specifications and replacement part numbers are listed. To identify the Peak Inverse Voltage (PIV) rating of the diode that will be replaced. Replacement procedures are as follows:
1. If the diode is taped to the harness, remove all of the tape.
2. Paying attention to the direction of current flow, remove the faulty diode from the harness with a suitable soldering tool. If the diode is located next to a connector terminal, remove the terminal(s) from the connector to prevent damage from the soldering tool.
3. Carefully strip away a section of insulation next to the old soldered portion of the wire(s). Do not remove any more than is necessary to attach the new diode.
4. Check the current flow direction of the new diode, being sure to install the diode with the correct bias. Attach the new diode to the wire(s) using 60/40 rosin core solder. Use a heat sink (aluminum alligator clip) attached across the diode leads to protect it from excessive heat. Follow the manufacturer's instructions for the soldering equipment you are using.
5. Install terminal(s) into the connector body, if removed in step 2.
6. Tape the diode to the harness or connector using electrical tape. To prevent shorts to ground and water intrusion, completely cover all exposed wire and diode attachment points.