Curiosii for ever!: Car repair manuals for everyone.

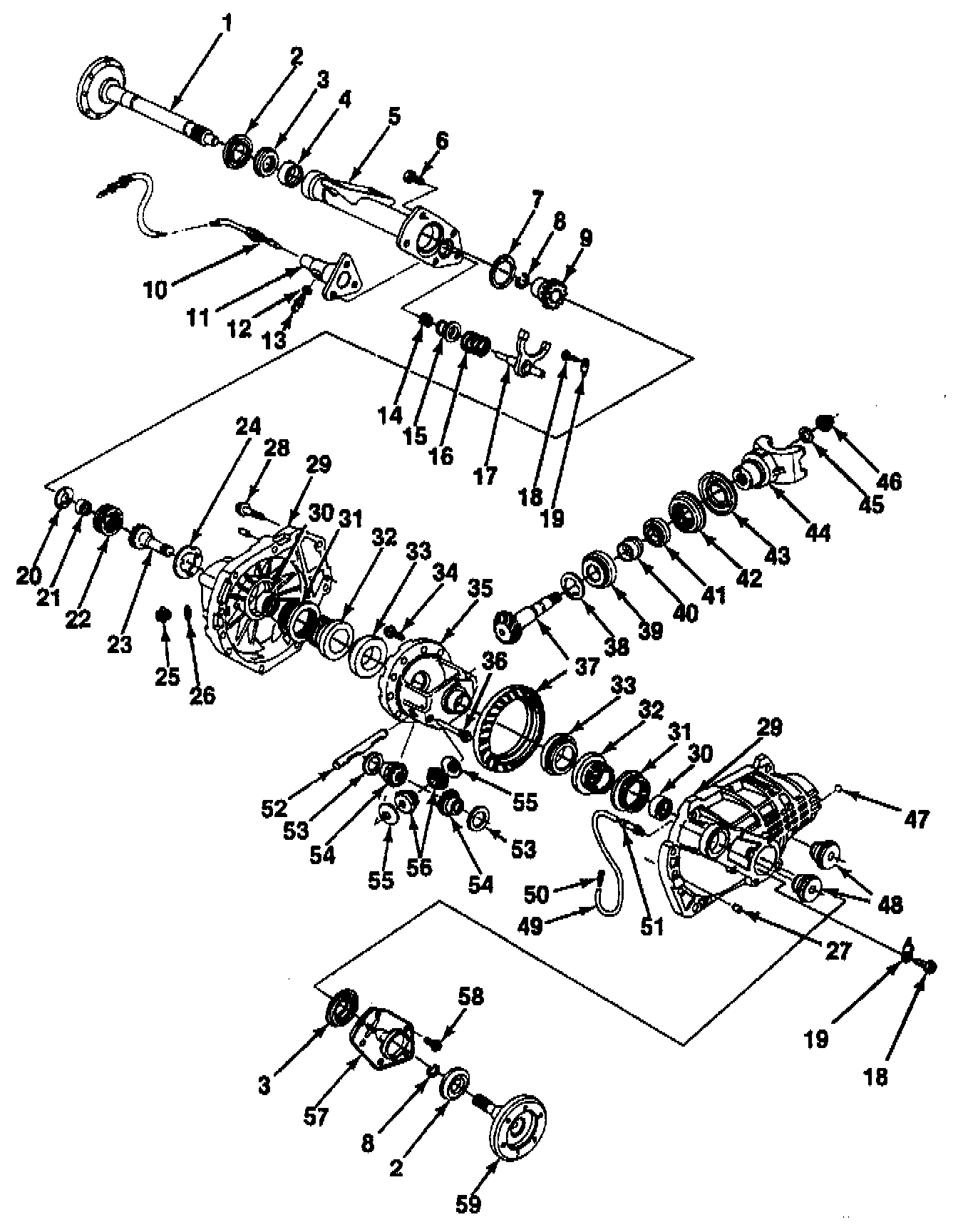
Final Assembly

^ Tools Required:
- J 33844 Axle Tube Bearing Installer
- J 33893 Output Shaft Seal Installer
- J 33799 Axle Lock Cable Seal Installer
- J 33842 Output Shaft Pilot Bearing Installer
- J 33791 Case Bushing Installer


REMOVE OR DISCONNECT

4x4 Front Axle Components:




Axle Components - Legend:






1. Four case bolts.
2. Right carrier case half.

Clean
- Sealing surfaces on the carrier case halves. Remove all oil and grease.

INSTALL OR CONNECT
1. Apply a bead of sealer to one carrier case surface.
2. Right carrier case.
3. Carrier Case Bolts.
- Tighten:
^ Bolts to 47 Nm (35 ft. lbs.).
^ Make sure the sleeves are in the proper position, as marked previously.
4. Adjusting sleeve bolts and locks.
- Tighten bolts to 8 Nm (71 inch lbs.).
5. Left seal to the cover. Fully support the seal bore area of the cover while installing the seal.

Clean
- All oil and grease from the cover and carrier sealing surfaces.

- Apply sealer to the cover.
6. Cover and bolts.
- Tighten bolts to 25 Nm (18 ft. lbs.).
7. Shaft with deflector. Tap into place.
8. Bearing using J 42211.





9. Seal using J 42212.





10. Seal using J 33799.





11. Differential pilot bearing using J 33842.
12. Washer to the inner axle shaft.
13. Output shaft to the carrier assembly.
14. Sleeve.
15. Thrust washer using grease to hold it in place.
16. Spring and shift shaft with fork.
17. Thrust washer using grease to hold it in place. Align the notch and tab.
18. Shaft to the tube.
19. Carrier connector with retainer ring. Tap into place.
A. Remove all oil and grease from the inner axle shaft housing and carrier gasket surfaces.
B. Apply sealer to the carrier.
20. Tube assembly to the carrier.
21. Two upper bolts. Leave finger tight.
22. Shift cable housing and remaining bolts.
- Tighten bolts to 47 Nm (35 ft. lbs.).
23. Bushings using J 33791.

Inspect
^ Tools Required:
- J 33798 Hub Engagement Tool





- Operation of the shift mechanism. Insert J 33799 into the shift fork. Turn the axle shaft while engaging and disengaging the shift mechanism with the tool. The mechanism should operate smoothly. If not, remove the inner axle shaft housing and check for damaged or improperly installed parts.