Curiosii for ever!
: Car repair manuals for everyone.
Home
>>
Chevy Truck
>>
1990
>>
G 10 Van V8-305 5.0L
>>
Repair and Diagnosis
>>
Heating and Air Conditioning
>>
Diagrams
>>
Exploded Views
>>
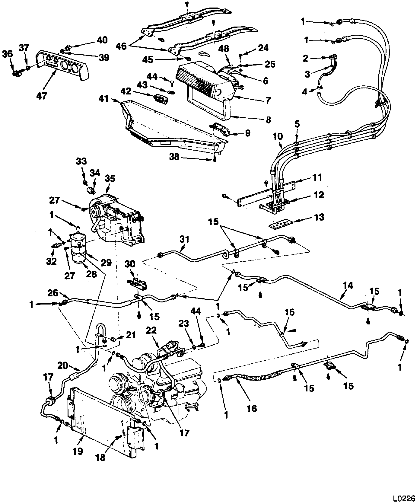
Interior Roof Mounted System Components
Interior Roof Mounted System Components
Interior Roof Mounted System - Component View (1 Of 2):
Interior Roof Mounted System - Component View (2 Of 2):