Curiosii for ever!
: Car repair manuals for everyone.
Home
>>
Chevy Truck
>>
1985
>>
S10/T10 P/U 4WD L4-151 2.5L
>>
Repair and Diagnosis
>>
Heating and Air Conditioning
>>
Diagrams
>>
Exploded Views
>>
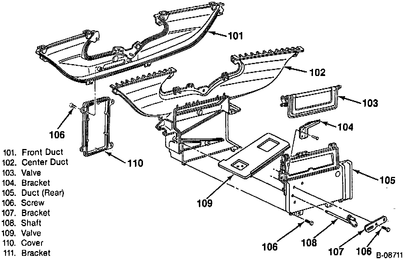
Upper Components
Upper Components
Air Distribution Assembly Component View: