Curiosii for ever!: Car repair manuals for everyone.

Intake Manifold: Service and Repair




Intake Manifold Replacement

Special Tools

* EN-34730-91 - Pressure Tester

* EN-6015 - Closure Plugs

For equivalent regional tools, refer to Special Tools Tools and Equipment

Removal Procedure

1. Disconnect the battery negative cable. Refer to Battery Negative Cable Disconnection and Connection Battery Negative Cable Disconnection and Connection.

2. Remove the engine sight shield.




3. Unclip the heater outlet hose from retainer clip (1).

4. Unclip the engine control module wiring harness from 2 retainer clips (2).

5. Lower the vehicle.

6. Remove the charge air cooler outlet air hose from the throttle body. Refer to Charge Air Cooler Outlet Air Hose Replacement Service and Repair.




7. Disconnect the throttle body wiring harness plug (1).




8. Disconnect the evaporative emission canister purge solenoid valve wiring harness plug (2).

9. Disconnect the manifold absolute pressure sensor wiring harness plug (1).

10. Disconnect the 4 fuel injector wiring harness plugs (4).

11. Unclip the engine control module wiring harness from the camshaft cover.

12. Disconnect the PCV hose (3).




13. Disconnect the turbocharger wastegate regulator solenoid valve wiring harness plug (3).

14. Unclip the engine control module wiring harness from 2 intake manifold retainer clips (2) and from 2 fuel injection rail retainer clips (1).

15. Relieve the fuel system pressure. Refer to Fuel Pressure Relief Service and Repair.




16. Remove the fuel feed pipe (4) from fuel injector rail.

17. Unclip the fuel feed pipe from retainer clip (1).

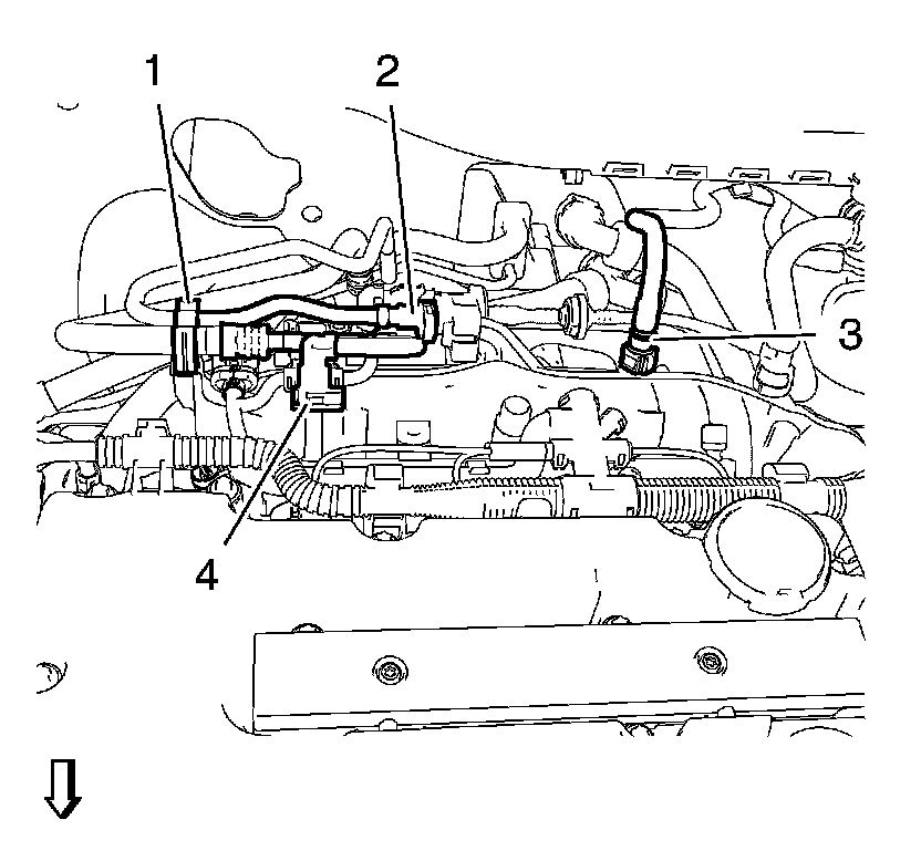
18. Remove the fuel ventilation pipe (2) from evaporative emission canister purge solenoid valve.

19. Unclip the fuel ventilation pipe from retainer clip (1).

20. Close the vents with the EN-6015 - closure plugs.

21. Disconnect the brake booster vacuum pipe (3) from the intake manifold.





Note: The intake manifold bolts remain in intake manifold.

22. Remove the 6 intake manifold bolts (1).




23. Remove the intake manifold (1) and the intake manifold gasket.

24. Transfer parts from intake manifold as necessary. Refer to Intake Manifold Disassemble Service and Repair and Intake Manifold Assemble Service and Repair.

Installation Procedure

1. Clean the sealing surfaces.




2. Install the intake manifold (1) along with a NEW intake manifold gasket.





Caution: Refer to Fastener Caution Fastener Caution.

3. Install the 6 intake manifold bolts (1) and tighten to 20 Nm (15 lb ft).




4. Connect the fuel ventilation pipe (2) to the evaporative emission canister purge solenoid valve.

5. Clip in the fuel ventilation pipe to the retainer clip (1).

6. Connect the fuel feed pipe (4) to the injector rail.

7. Clip in the fuel feed pipe to the retainer clip (1).

8. Connect the brake booster vacuum pipe (3) to the intake manifold.




9. Connect the turbocharger wastegate regulator solenoid valve wiring harness plug (3).

10. Clip in the engine control module wiring harness to 2 intake manifold retainer clips (2) and from 2 fuel injection rail retainer clips (1).




11. Clip in the engine control module wiring harness to the camshaft cover.

12. Connect the 4 fuel injector wiring harness plugs (4).

13. Connect the manifold absolute pressure sensor wiring harness plug (1).

14. Disconnect the evaporative emission canister purge solenoid valve wiring harness plug (2).

15. Connect the PCV hose (3).




16. Connect the throttle body wiring harness plug (1).

17. Install the charge air cooler outlet air hose to the throttle body. Refer to Charge Air Cooler Outlet Air Hose Replacement Service and Repair.

18. Raise and support the vehicle.




19. Clip in the heater outlet hose to retainer clip (1).

20. Clip in the engine control module wiring harness to 2 retainer clips (2).

21. Install the engine sight shield.

22. Connect the battery negative cable. Refer to Battery Negative Cable Disconnection and Connection Battery Negative Cable Disconnection and Connection.