Curiosii for ever!
: Car repair manuals for everyone.
Home
>>
Chevrolet
>>
2013
>>
Malibu L4-2.4L Hybrid
>>
Repair and Diagnosis
>>
Diagrams
>>
Connector Views
>>
Engine Control Module
>>
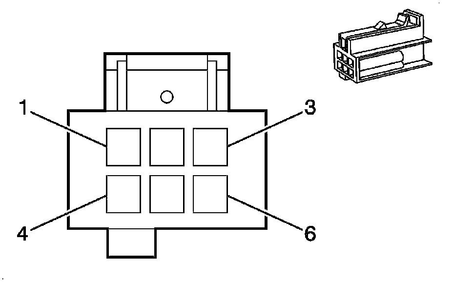
Engine Control Module X3
Engine Control Module X3
Component Connector End Views
K20
Engine Control Module
X3 (LUK)