Curiosii for ever!: Car repair manuals for everyone.

Radio Antenna Module - Case Ground




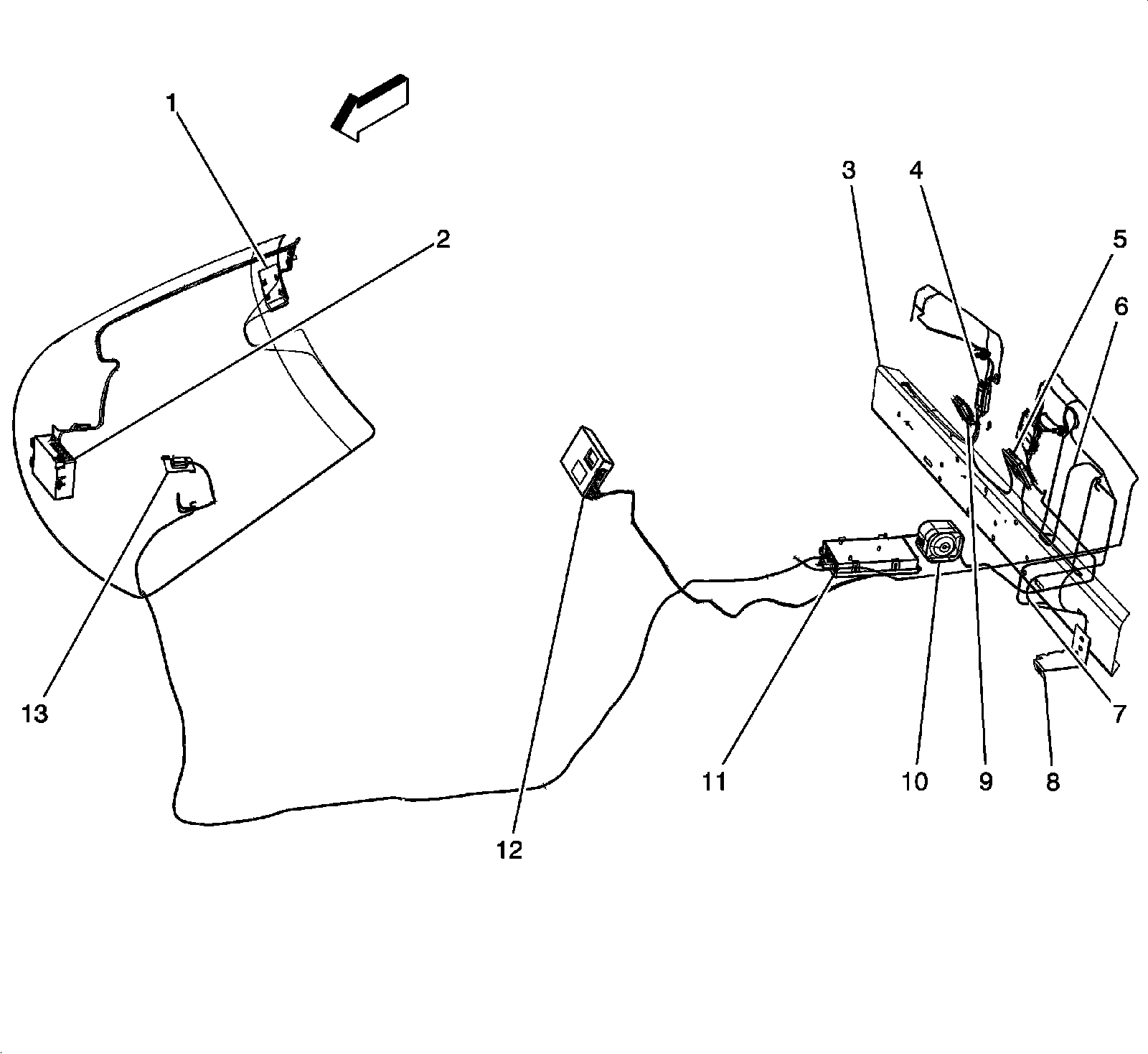
Passenger Compartment/Roof Component Views

Antennas and Antenna Modules





1 - Cellular and Navigation Antenna (UE1)

2 - Vehicle Communication Interface Module (VCIM) (UE1)

3 - Radio Antenna Module- Case Ground

4 - Radio Antenna Module- Right (C05 or CM7)

5 - Radio Antenna Module- Left (except C05 or CM7)

6 - Antenna (C05 or CM7)

7 - Antenna (except C05 or CM7)

8 - Antenna Ground

9 - Radio Antenna Module- Right (except C05 or CM7)

10 - Theft Deterrent Alarm Siren (UA2)

11 - Digital Radio Receiver (except C05 or CM7 with U2K) / Traffic Information Receiver (except C05 or CM7 with U3Z)

12 - Digital Radio Receiver (C05 or CM7 with U2K) / Traffic Information Receiver (C05 or CM7 with U3Z)

13 - Navigation Antenna (U3U or U3Z)