Curiosii for ever!
: Car repair manuals for everyone.
Home
>>
Chevrolet
>>
2013
>>
Camaro V8-6.2L SC
>>
Repair and Diagnosis
>>
Power and Ground Distribution
>>
Accessory Relay
>>
Locations
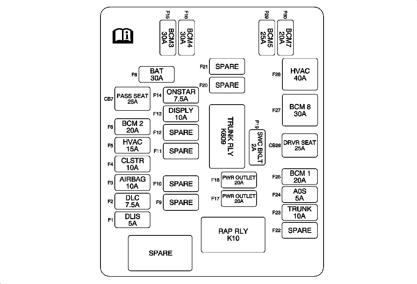
Accessory Relay: Locations
Electrical Center Identification Views
X51A Fuse Block - Instrument Panel Label