Curiosii for ever!: Car repair manuals for everyone.

Fuel Line Coupler: Service and Repair




Metal Collar Quick Connect Fitting Service

Special Tools

J 37088-A - Fuel Line Disconnect Tool Set

Removal Procedure




1. Relieve the fuel system pressure. Refer to Fuel Pressure Release

2. Remove the retainer from the fuel feed quick-connect fitting.





Warning

Wear safety glasses when using compressed air, as flying dirt particles may cause eye injury.

3. Using compressed air, blow any dirt or debris from around the fitting.




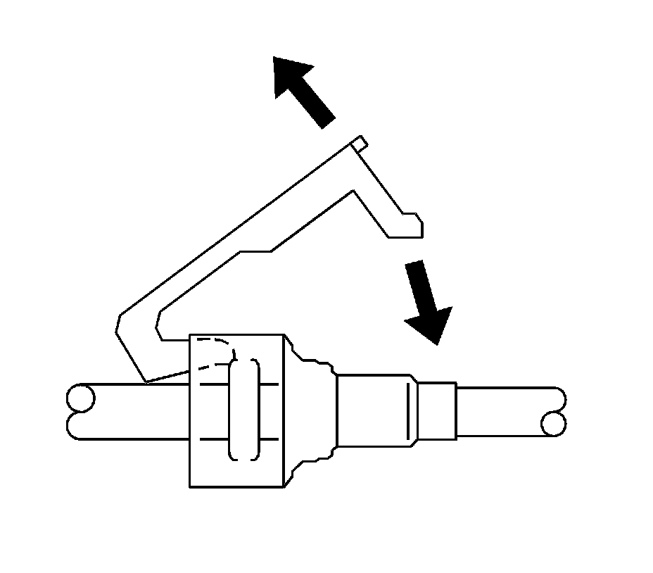
4. Using the correct tool from the J 37088-A - fuel line disconnect tool set, insert the tool into the female connector, then push inward in order to release the quick connect locking tabs.




5. Pull the fuel line connection apart.

Caution:
If necessary, remove rust or burrs from the fuel pipes with an emery cloth. Use a radial motion with the fuel pipe end in order to prevent damage to the O-ring sealing surface. Use a clean shop towel in order to wipe off the male tube ends. Inspect all the connections for dirt and burrs. Clean or replace the components and assemblies as required.

6. Use a clean shop towel in order to wipe off the male pipe end.

7. Inspect both ends of the fitting for dirt and burrs. Clean or replace the components, as required.

Installation Procedure






1. Apply a few drops of clean engine oil to the male pipe end.




2. Push both sides of the fitting together in order to snap the retaining tabs into place.




3. Once installed, pull on both sides of the fitting in order to make sure the connection is secure.




4. Install the retainer to the fuel feed quick-connect fitting.