Curiosii for ever!
: Car repair manuals for everyone.
Home
>>
Chevrolet
>>
2011
>>
Impala V6-3.9L
>>
Repair and Diagnosis
>>
Windows and Glass
>>
Windows
>>
Window Glass
>>
Front Door Window Glass
>>
Service and Repair
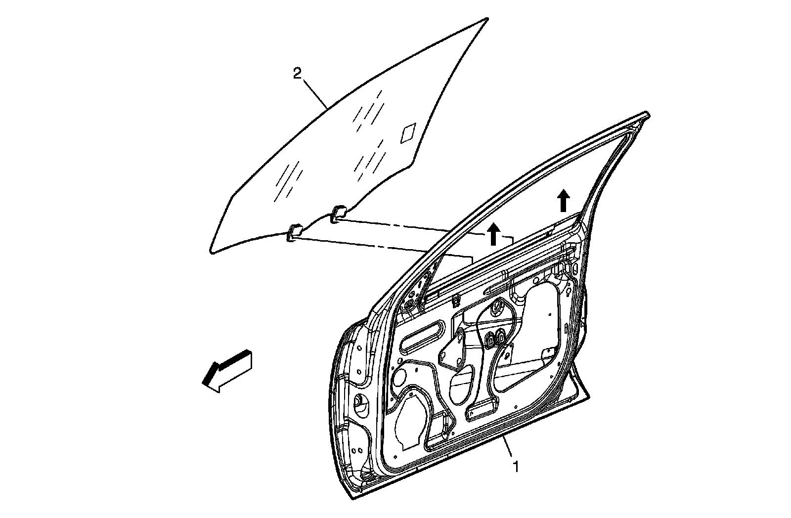
Front Door Window Glass: Service and Repair
Front Side Door Window Replacement