Curiosii for ever!
: Car repair manuals for everyone.
Home
>>
Chevrolet
>>
2011
>>
Corvette V8-6.2L SC
>>
Repair and Diagnosis
>>
Transmission and Drivetrain
>>
Manual Transmission/Transaxle
>>
Transmission Temperature Sensor/Switch
>>
Locations
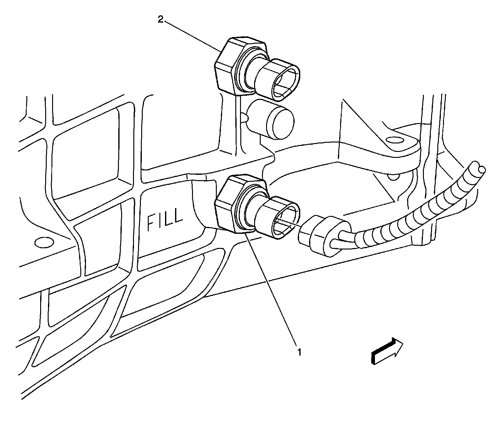
Transmission Temperature Sensor/Switch: Locations
Powertrain Component Views
Manual Transmission Components - Right Side (MN6)
1
- Manual Transmission Fluid Temperature Sensor
2
- Backup Lamp Switch