Curiosii for ever!: Car repair manuals for everyone.

Traction Control Switch: Locations




Instrument Panel/Center Console Component Views

Instrument Panel and Center Console Components




1 - Head Up Display (HUD) Switch (UV6)
2 - Instrument Panel Cluster (IPC)
3 - Head Up Display (HUD) (UV6)
4 - Driver Information Center (DIC) Switch
5 - Sunload Sensor
6 - Hazard Warning Switch
7 - Radio
8 - HVAC Control Module
9 - Inflatable Restraint I/P Module
10 - Auxiliary Audio Jack (U3U)
11 - I/P Compartment Lamp
12 - Heated Seat Switch - Passenger (KA1)
13 - Suspension Control Switch (F55)
14 - Accessory Power Outlet
15 - Traction Control Switch (TCS)
16 - Cigar Lighter
17 - Heated Seat Switch - Driver (KA1)
18 - Noise Compensation Microphone (U65)
19 - Ignition Mode Switch
20 - Air Temperature Sensor - Inside
21 - Inflatable Restraint Steering Wheel Module
22 - Rear Compartment Lid Release Switch - Interior
23 - Fuel Door Release Switch
24 - I/P Dimmer Switch
25 - Folding Top Control Switch (CM7)




Wheels/Vehicle Underbody Component Views

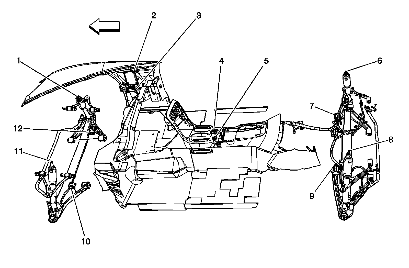
Suspension Components




1 - Shock Absorber Actuator - Right Front (F55)
2 - Suspension Control Module (F55)
3 - Transmission Harness
4 - Suspension Control Switch (F55)
5 - Traction Control Switch (TCS)
6 - Shock Absorber Actuator - Right Rear (F55)
7 - Suspension Position Sensor - Right Rear (FE2)
8 - Shock Absorber Actuator - Left Rear (F55)
9 - Suspension Position Sensor - Left Rear (FE2)
10 - Suspension Position Sensor - Left Front (FE2)
11 - Shock Absorber Actuator - Left Front (F55)
12 - Suspension Position Sensor - Right Front (FE2)