Curiosii for ever!: Car repair manuals for everyone.

Transmission Temperature Sensor/Switch: Service and Repair




Transmission Fluid Temperature Sensor Replacement

Removal Procedure

Note: The Transmission Fluid Temperature (TFT) sensor is incorporated into the wiring harness assembly. The harness and sensor have to be replaced as an assembly.

1. Drain the transaxle fluid from the transaxle. Refer to Transmission Fluid Draining (10. Transmission Fluid Draining).




2. Remove the oil pan retaining bolts.
3. Remove the oil pan and gasket.




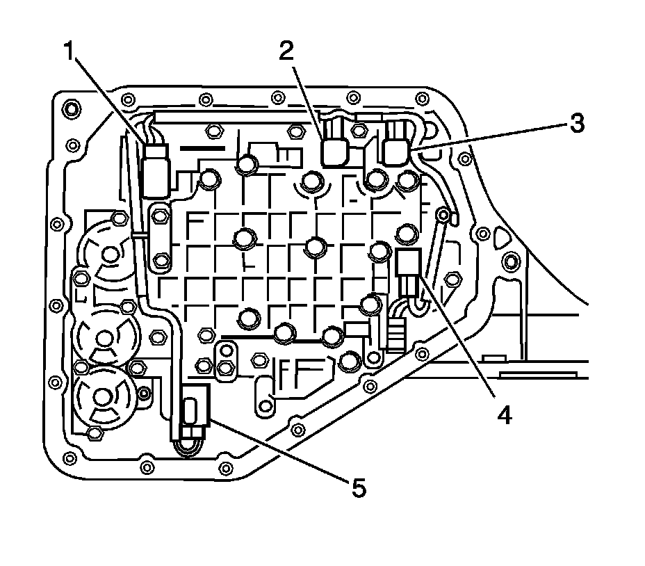
4. Disconnect the wiring harness assembly from the five solenoids (1-5).




5. Remove the wiring harness retaining bolt, then remove the wiring harness and TFT sensor from the transaxle.

Installation Procedure




1. Coat a new O-ring with ATF and install it on the harness connector.
2. Install the TFT sensor and wiring harness into the transaxle case.

Caution: Refer to Fastener Caution (Fastener Caution).

3. Install the wiring harness retaining bolt and tighten to 6 Nm (53 lb in).




4. Connect the wiring harness to the five solenoids (1-5).




5. Install a new gasket on the oil pan.
6. Install the oil pan.
7. Install the oil pan bolts and tighten to 8 Nm (71 lb in).
8. Fill the transaxle with transmission fluid. Refer to Transmission Fluid Draining (10. Transmission Fluid Draining).