Curiosii for ever!: Car repair manuals for everyone.

Passenger Compartment/Roof Component Views




Passenger Compartment/Roof Component Views

Headliner Components - Top View




1 - Headliner
2 - Cellular and Digital Radio Antenna (UE1/U2K)
3 - Sunroof Motor (CF5)

Headliner Components




1 - Headliner
2 - Dome/Reading Lamps
3 - Garage Door Opener (UG1)
4 - Sunroof Switch (CF5)

Left Side of Windshield




1 - Left A-Pillar
2 - Keyless Entry Antenna (AP3/AP8)

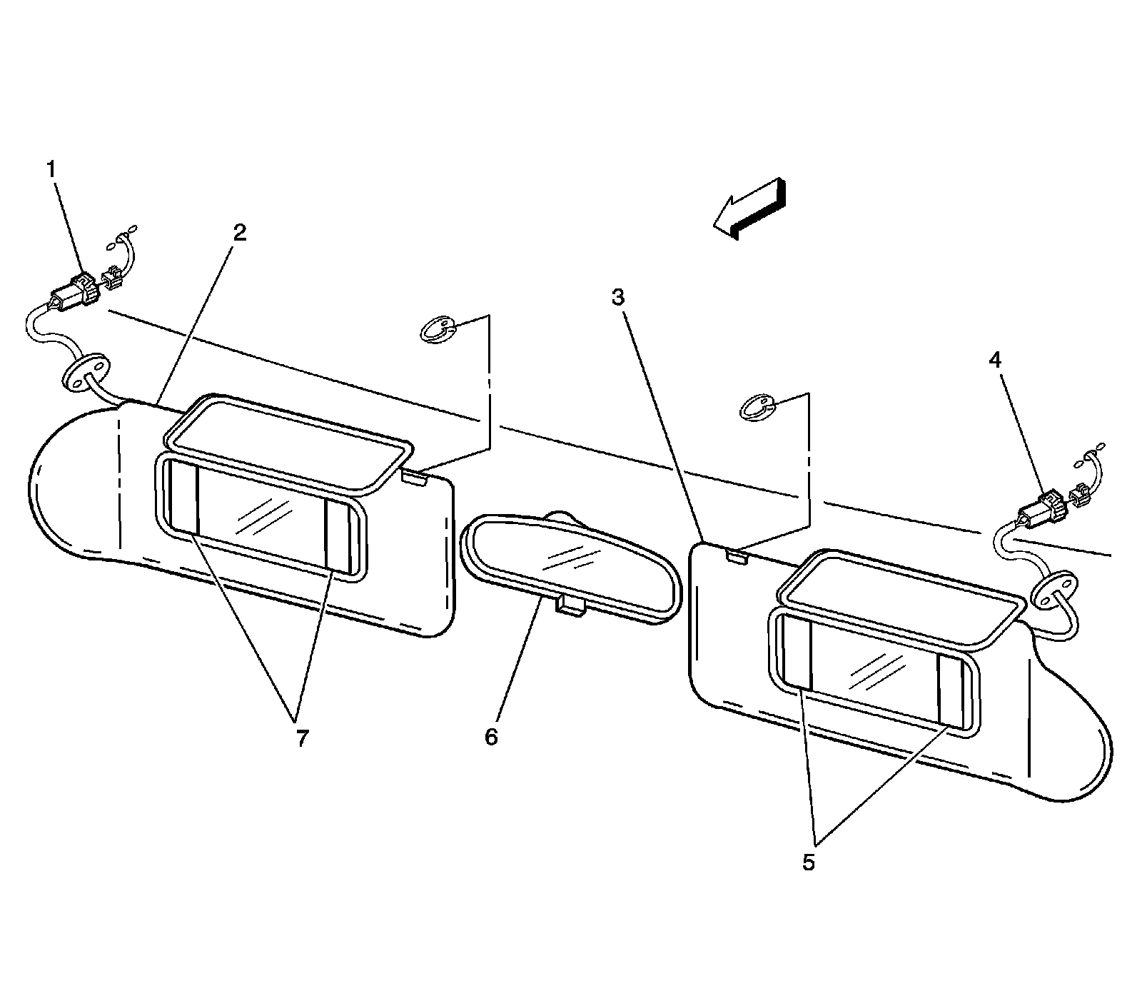
Above Front Windshield




1 - Vanity Mirror Lamp - Left Connector
2 - Left Sunshade
3 - Right Sunshade
4 - Vanity Mirror Lamp - Right Connector
5 - Vanity Mirror Lamp - Right
6 - Inside Rearview Mirror
7 - Vanity Mirror Lamp - Left

Base of the Left A-Pillar




1 - Speaker - Left front Tweeter (UQ3)

Base of the Right A-Pillar




1 - Speaker - Right Front Tweeter (UQ3)

Roof Rails




1 - Inflatable Restraint Roof Rail Module - Right (AY1)
2 - Inflatable Restraint Roof Rail Module - Left (AY1)
3 - Drivers Seat

Forward Headliner (9C1/9C3)




1 - Reading lamp - Auxiliary

On the left B-Pillar




1 - Seat Belt Pretensioner - Left
2 - Left A-Pillar

Left Front Seat of the Vehicle




1 - Seat Belt Switch - Driver

Front Seat Airbag Inlines




1 - Seat Belt Switch-Passenger
2 - Passenger
3 - X314
4 - Seat Belt Switch-Driver
5 - Inflatable Restraint Side Impact Module-Left
6 - X312
7 - Driver Seat
8 - Inflatable Restraint Side Impact Module-Right

Driver Seat Components




1 - Seat Recline Motor - Driver (AH5)
2 - Heated Seat Element - Driver - Back (KA1)
3 - Seat Adjuster Switch - Driver
4 - Heated Seat Control Module (KA1)
5 - Horizontal Motor (Part of the Seat Adjuster Motor Assembly - Driver)
6 - Front Vertical Motor (Part of the Seat Adjuster Motor Assembly - Driver)
7 - Rear Vertical Motor (Part of the Seat Adjuster Motor Assembly - Driver)
8 - Heated Seat Element - Driver - Seat (KA1)

Passenger Seat Components




1 - Heated Seat Element - Passenger - Back (KA1)
2 - Seat Belt Switch - Passenger
3 - Seat Belt Tension Sensor - Passenger
4 - Seat Belt Tension Sensor - Passenger, Connector
5 - Rear Vertical Motor (Part of the Seat Adjuster Motor Assembly - Passenger)
6 - Front Vertical Motor (Part of the Seat Adjuster Motor Assembly - Passenger)
7 - Horizontal Motor (Part of the Seat Adjuster Motor Assembly - Passenger)
8 - Inflatable Restraint Front Passenger Presence System (PPS) Module
9 - Inflatable Restraint Front Passenger Presence System (PPS) Sensor
10 - Seat Adjuster Switch - Passenger (AG2)
11 - Heated Seat Element - Passenger - Seat (KA1)

On the Right B-Pillar




1 - Right A-Pillar
2 - Seat Belt Pretensioner - Right

Under the Passenger Seat




1 - Inflatable Restraint Sensing and Diagnostic Module (SDM)
2 - Front Passenger Floor Panel

Radio and Speaker Components




1 - Audio Amplifier (UQ3)
2 - Speaker - Left Rear
3 - Speaker - Left Front Door
4 - Speaker - Left Front Tweeter (UQ3)
5 - Radio
6 - Speaker - Right Front Tweeter (UQ3)
7 - Speaker - Right Front Door
8 - Speaker - Right Rear

Above the Rear Seat




1 - Left Rear C-Pillar
2 - Radio Antenna Module
3 - Rear Seat

On Package Shelf (9C1/9C3)




1 - Emergency Vehicle Rear Window Panel Lamp - Left (9C1/9C3)
2 - Emergency Vehicle Rear Window Panel Lamp - Right (9C1/9C3)