Curiosii for ever!: Car repair manuals for everyone.

Yaw Rate Sensor: Service and Repair




Vehicle Yaw Sensor with Vehicle Lateral Accelerometer Replacement

Removal Procedure

1. Turn OFF the ignition.
2. Remove the front floor center console. Refer to Front Floor Console Replacement (Front Floor Console Replacement).




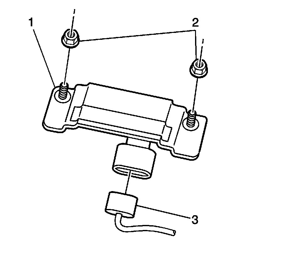
3. Remove the 2 yaw rate sensor/lateral accelerometer mounting nuts (2).




4. Disconnect the yaw rate sensor/lateral accelerometer electrical connector (2).
5. Remove the yaw rate sensor/lateral accelerometer (1).

Installation Procedure




1. Install the yaw rate sensor/lateral accelerometer (1).

Caution: Refer to Fastener Caution (Fastener Caution).

2. Install the 2 yaw rate sensor/lateral accelerometer nuts (2).

Tighten the nuts to 6 Nm (53 lb in).




3. Connect the yaw rate sensor/lateral accelerometer electrical connector (2).
4. Install the front floor center console. Refer to Front Floor Console Replacement (Front Floor Console Replacement).
5. Install a scan tool.
6. Using the special functions menu on the scan tool, reset the yaw rate sensor.
7. Perform the Diagnostic System Check - Vehicle (Diagnostic System Check - Vehicle).