Curiosii for ever!
: Car repair manuals for everyone.
Home
>>
Chevrolet
>>
2010
>>
Impala V6-3.9L
>>
Repair and Diagnosis
>>
Body and Frame
>>
Interior Moulding / Trim
>>
Console
>>
Service and Repair
>>
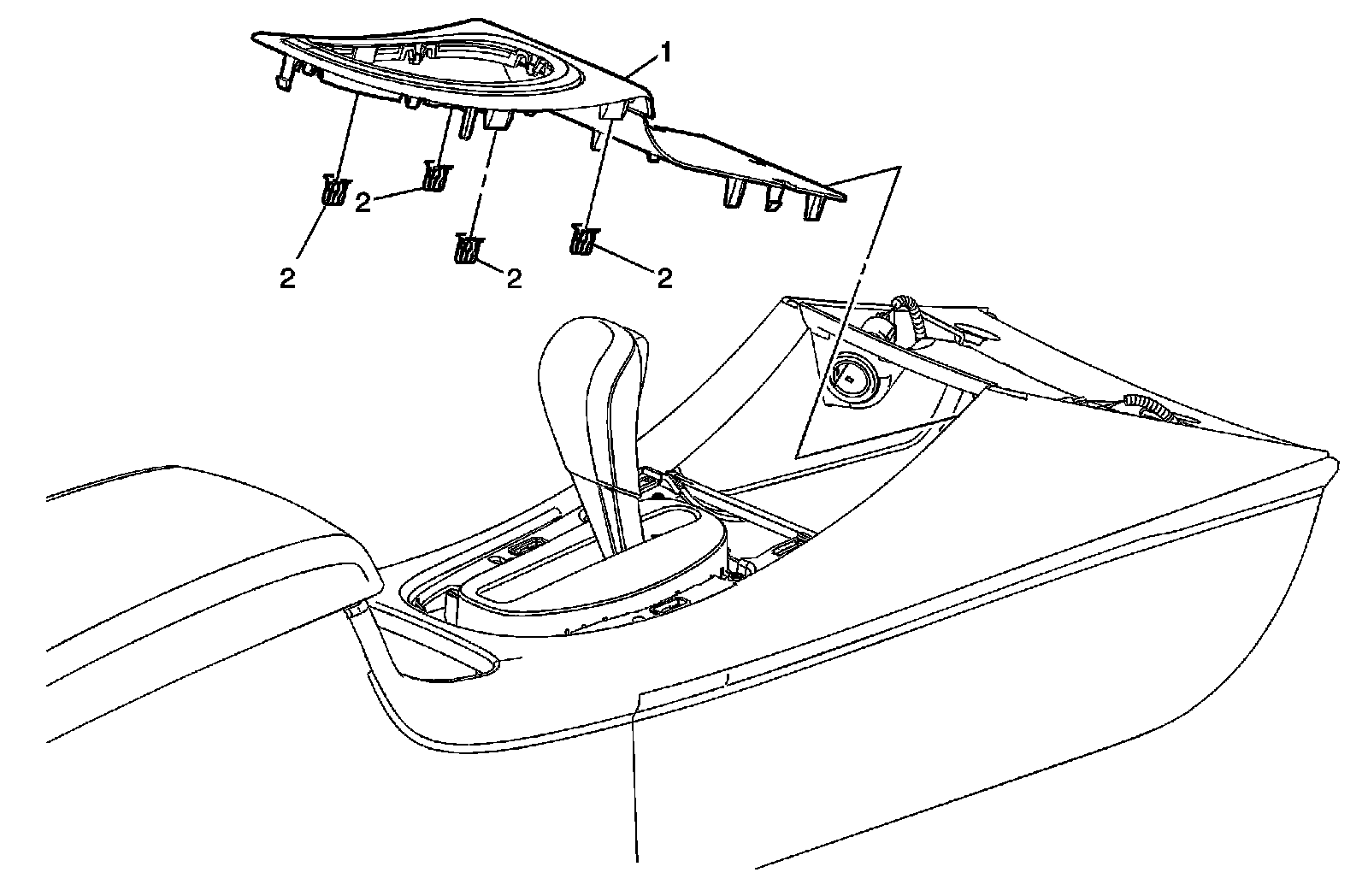
Console Shift Lever Bezel Replacement
Console Shift Lever Bezel Replacement
Console
Shift Lever Bezel Replacement