Curiosii for ever!: Car repair manuals for everyone.

Door Component Views




Door Component Views

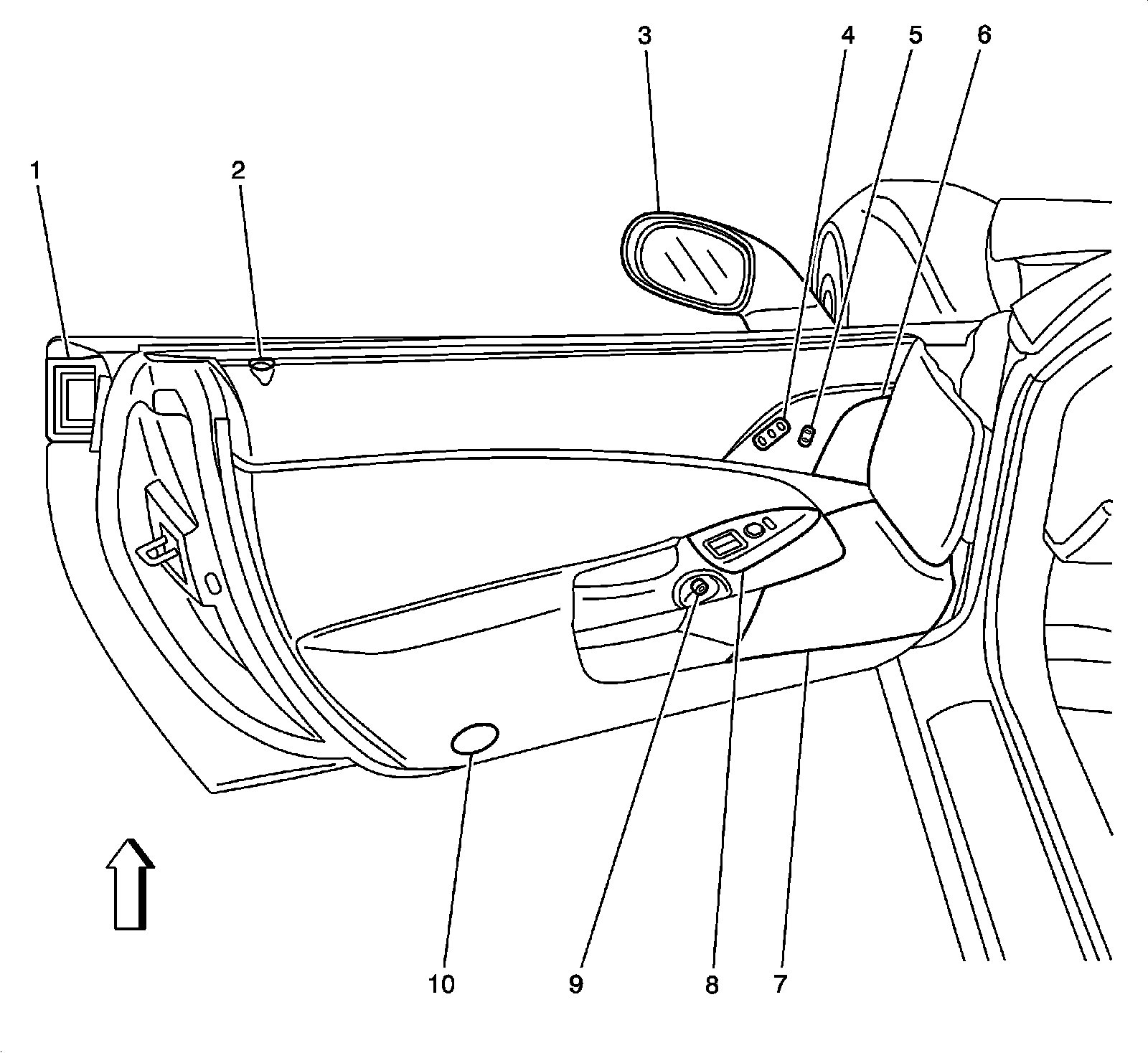
Driver Door Components




1 - Door Handle Switch - Driver Exterior
2 - Door Lock Indicator - Driver
3 - Outside Rearview Mirror - Driver
4 - Memory Seat Adjuster Switch - Driver (AAB)
5 - Door Lock Switch - Driver
6 - Speaker - Left Front
7 - Speaker - Left Subwoofer
8 - Window Switch - Driver
9 - Door Handle Switch - Driver Interior
10 - Door Reflector (if equipped)

Passenger Door Components




1 - Door Lock Switch - Passenger
2 - Outside Rearview Mirror - Passenger
3 - Door Lock Indicator - Passenger
4 - Door Handle Switch - Passenger Exterior
5 - Door Reflector (if equipped)
6 - Window Switch - Passenger
7 - Door Handle Switch - Passenger Interior
8 - Speaker - Right Subwoofer
9 - Speaker - Right Front

Door Latches




1 - Door Latch - Passenger
2 - Door Latch - Driver