Curiosii for ever!: Car repair manuals for everyone.

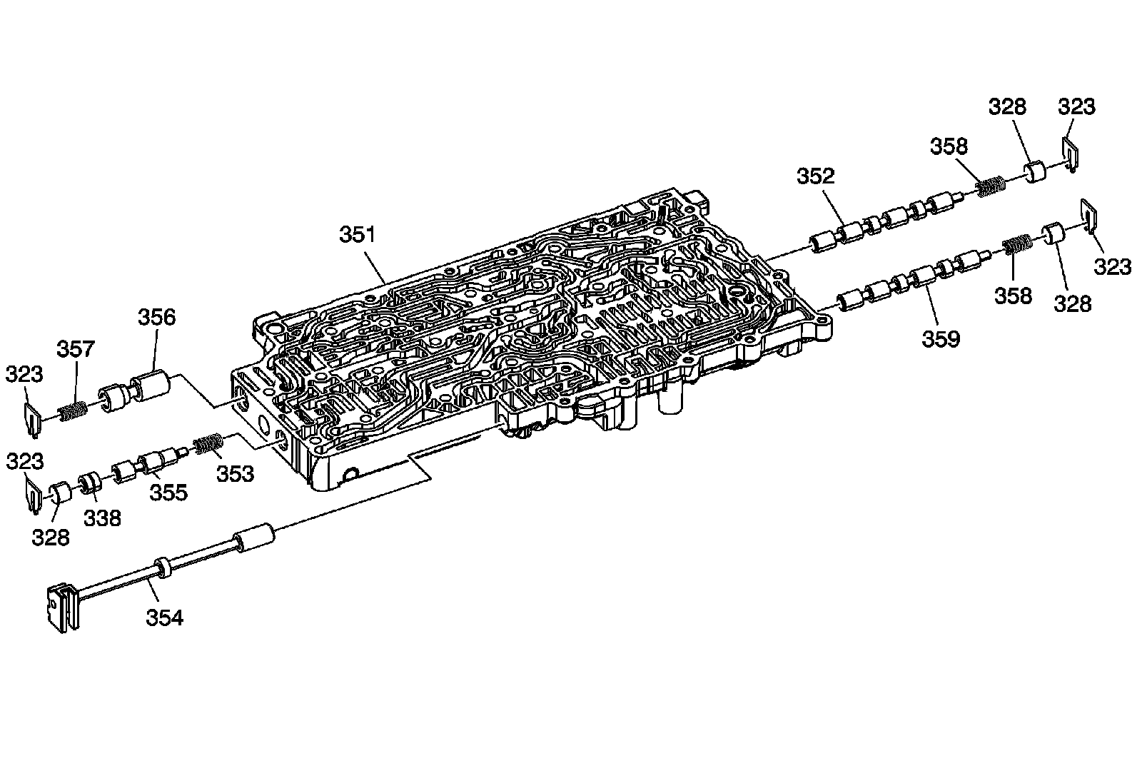
Lower Control Valve Body Assembly




Disassembled Views

Lower Control Valve Body Assembly




323 - Retainer
328 - Clutch Regulator Valve Bore Plug
338 - Shuttle Valve
351 - Control Valve Lower Body
352 - Clutch Select Solenoid Valve 3
353 - TCC Regulator Apply Valve Spring
354 - Manual Valve
355 - TCC Regulator Apply Valve
356 - Clutch Piston Dam Feed Regulator Valve
357 - Clutch Piston Dam Feed Regulator Valve Spring
358 - Clutch Select Solenoid Valve Spring
359 - Clutch Select Solenoid Valve 2